专利数据库
统计分析
产业报告
专利数据监控
产业人才
行业动态
产业政策法规
维权援助
个人中心
详情
文本
图像
标题
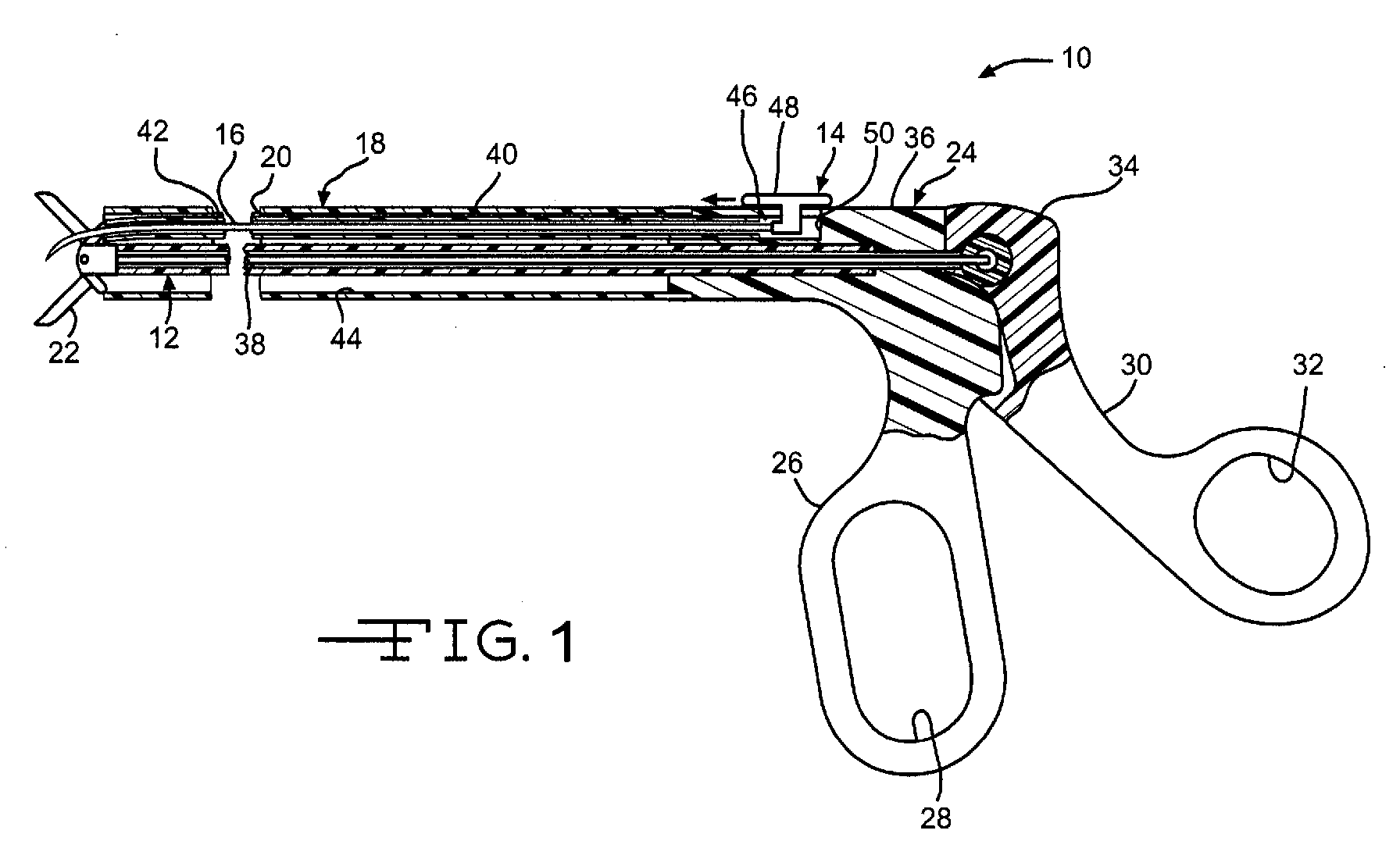
Device for intralumenal anastomosis
授权日
1900-01-01
公开(公告)号
EP1550415A2
申请日
2004-12-23
公开(公告)日
2005-07-06
当前申请(专利权)人
ETHICON ENDO-SURGERY
发明人
ORTIZ, MARK S. | NOBIS, RUDOLPH H.
简单同族
AU2004242489A1 | AU2004242489B2 | BRPI0405882A | BRPI0405882A2 | CA2490678A1 | CA2490678C | CN1654020A | EP1550415A2 | EP1550415A3 | JP2005193044A | JP5106749B2 | MX284574B | MXPA05000209A | US20050143763A1 | US7618427
简单同族成员数量
15
简单同族被引用专利总数
237
诉讼案件数
0
法律状态/事件
撤回
抱歉,您的浏览器不支持PDF预览,请点击链接下载PDF文件