专利数据库
统计分析
产业报告
专利数据监控
产业人才
行业动态
产业政策法规
维权援助
个人中心
详情
文本
图像
标题
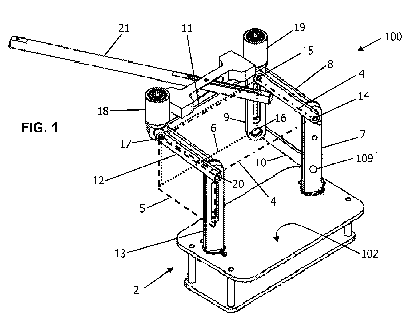
A hybrid manual-robotic system for controlling the position of an instrument
授权日
1900-01-01
公开(公告)号
EP2008605A1
申请日
2007-06-25
公开(公告)日
2008-12-31
当前申请(专利权)人
UNIVERSITE CATHOLIQUE DE LOUVAIN | CLINIQUE UNIVERSITAIRES SAINT-LUC
发明人
THE DESIGNATION OF THE INVENTOR HAS NOT YET BEEN FILED
简单同族
EP2008605A1 | EP2160143A1 | US20100185211A1 | WO2009000658A1
简单同族成员数量
4
简单同族被引用专利总数
22
诉讼案件数
0
法律状态/事件
驳回
抱歉,您的浏览器不支持PDF预览,请点击链接下载PDF文件