专利数据库
统计分析
产业报告
专利数据监控
产业人才
行业动态
产业政策法规
维权援助
个人中心
详情
文本
图像
标题
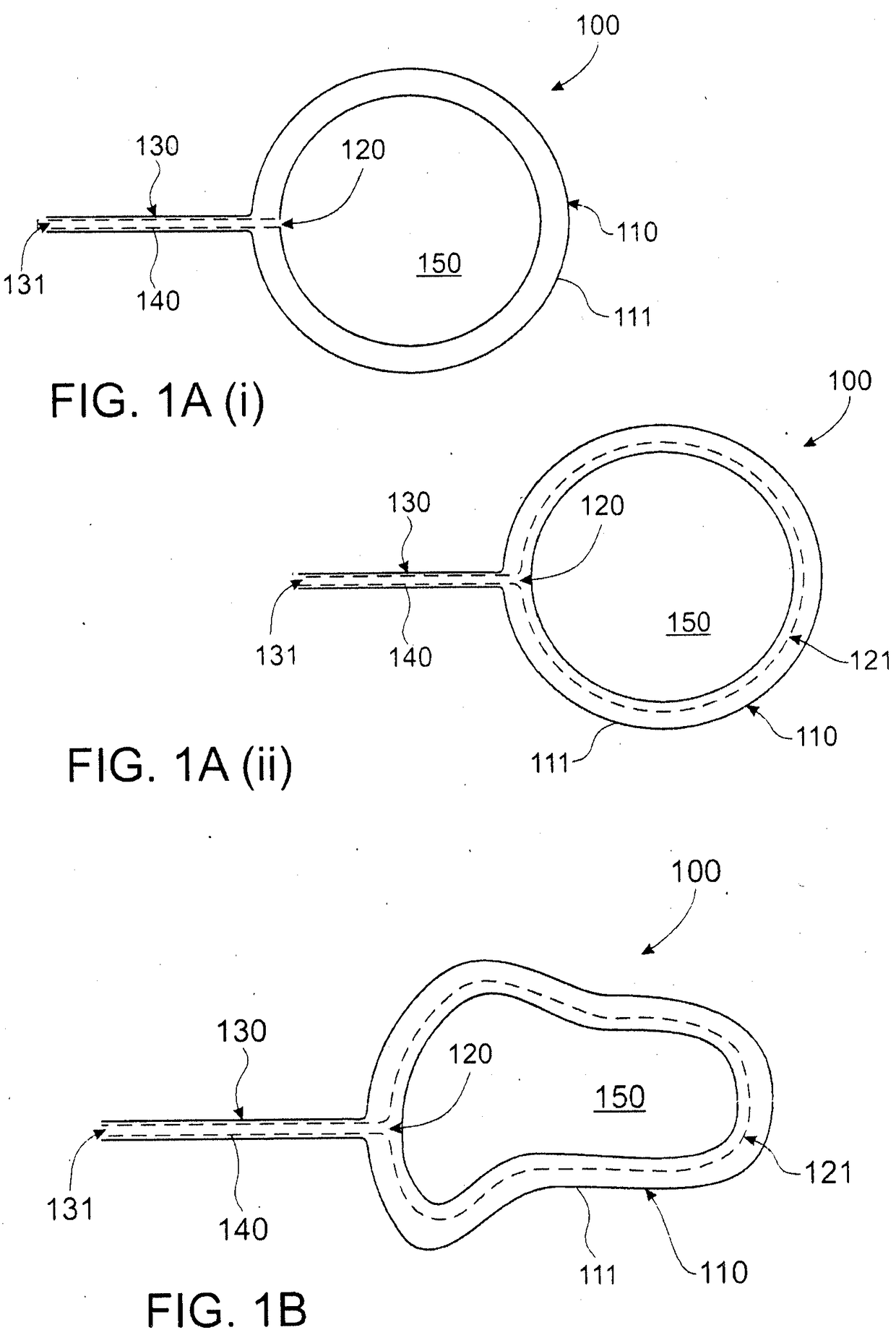
Suction retractor
授权日
2018-10-31
公开(公告)号
EP2568873B1
申请日
2011-05-13
公开(公告)日
2018-10-31
当前申请(专利权)人
LIVAC IP CO PTY LTD
发明人
GAN, PHILIP
简单同族
AU2011252768A1 | AU2011252768B2 | BR112012028854A2 | CA2799054A1 | CN103002793A | CN103002793B | EP2568873A1 | EP2568873A4 | EP2568873B1 | ES2707823T3 | JP2013526304A | JP2013526304A5 | JP5911849B2 | KR101946908B1 | KR1020130111226A | NZ601223A | NZ601223B | US20130109924A1 | US8814788 | WO2011140612A1
简单同族成员数量
20
简单同族被引用专利总数
47
诉讼案件数
0
法律状态/事件
授权 | 权利转移
抱歉,您的浏览器不支持PDF预览,请点击链接下载PDF文件