专利数据库
统计分析
产业报告
专利数据监控
产业人才
行业动态
产业政策法规
维权援助
个人中心
详情
文本
图像
标题
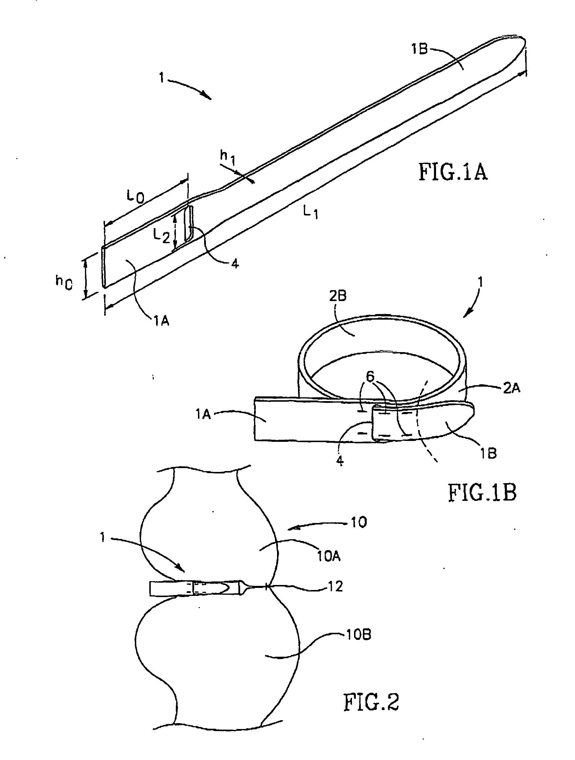
A gastric band
授权日
2006-01-18
公开(公告)号
EP1036545B1
申请日
2000-03-17
公开(公告)日
2006-01-18
当前申请(专利权)人
MOSHE, DUDAI
发明人
MOSHE, DUDAI
简单同族
AT315909T | DE60025548D1 | DE60025548T2 | EP1036545A2 | EP1036545A3 | EP1036545B1 | IL129032A | IL129032D0 | US20040153106A1 | US20090306465A1 | US20140107407A1 | US6676674
简单同族成员数量
12
简单同族被引用专利总数
337
诉讼案件数
0
法律状态/事件
权利终止
抱歉,您的浏览器不支持PDF预览,请点击链接下载PDF文件