专利数据库
统计分析
产业报告
专利数据监控
产业人才
行业动态
产业政策法规
维权援助
个人中心
详情
文本
图像
标题
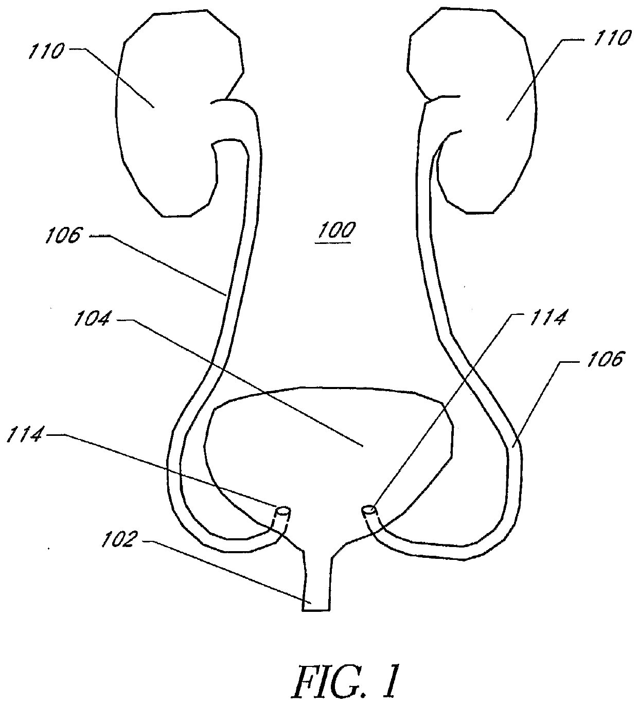
Expandable transluminal sheath
授权日
2020-02-19
公开(公告)号
EP1819391B1
申请日
2005-09-09
公开(公告)日
2020-02-19
当前申请(专利权)人
ONSET MEDICAL CORPORATION
发明人
LENKER, JAY | TCHULLUIAN, ONNIK | NANCE, EDWARD J.
简单同族
EP1819391A2 | EP1819391A4 | EP1819391B1 | JP2008512200A | JP2008512200A5 | JP2008512200A6 | JP4938668B2 | US20060135981A1 | US20110282156A1 | US8597277 | WO2006031619A2 | WO2006031619A3 | WO2006031619A8
简单同族成员数量
13
简单同族被引用专利总数
166
诉讼案件数
0
法律状态/事件
授权
抱歉,您的浏览器不支持PDF预览,请点击链接下载PDF文件