专利数据库
统计分析
产业报告
专利数据监控
产业人才
行业动态
产业政策法规
维权援助
个人中心
详情
文本
图像
标题
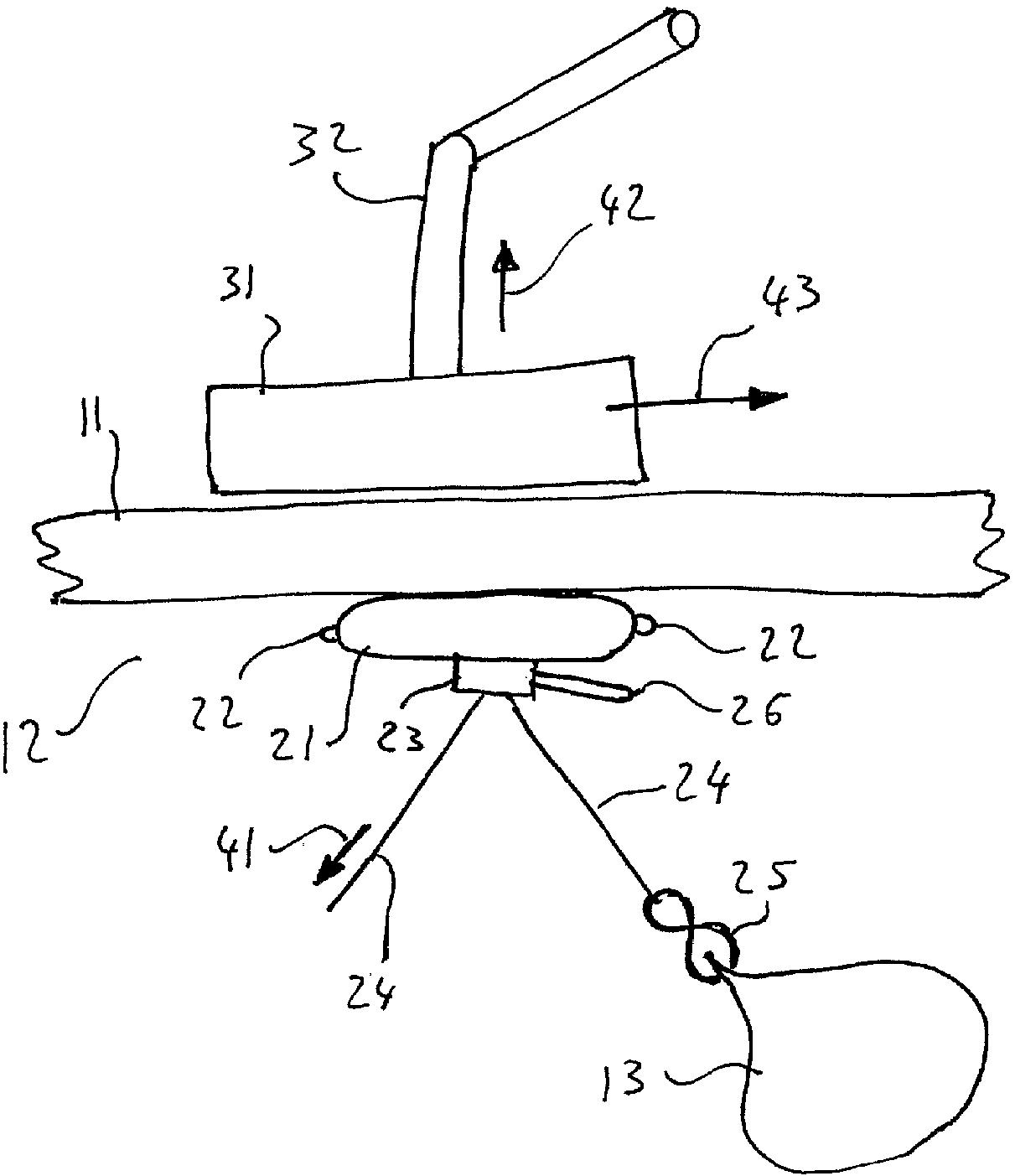
Virtual ports devices and method
授权日
1900-01-01
公开(公告)号
EP1648288A4
申请日
2004-07-02
公开(公告)日
2010-09-08
当前申请(专利权)人
VIRTUAL PORTS LTD.
发明人
PAZ, ADRIAN
简单同族
EP1648288A2 | EP1648288A4 | GB0315479D0 | GB0324830D0 | GB2403909A | US20060149135A1 | US20110245596A1 | US8038612 | US8360972 | WO2005002415A2 | WO2005002415A3
简单同族成员数量
11
简单同族被引用专利总数
306
诉讼案件数
0
法律状态/事件
驳回 | 权利转移
抱歉,您的浏览器不支持PDF预览,请点击链接下载PDF文件