专利数据库
统计分析
产业报告
专利数据监控
产业人才
行业动态
产业政策法规
维权援助
个人中心
详情
文本
图像
标题
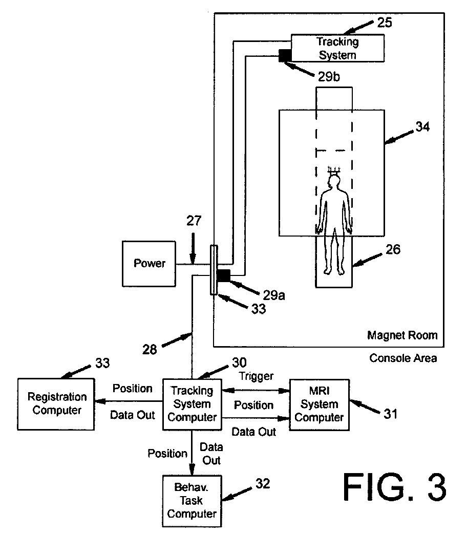
Optical image-based position tracking for magnetic resonance imaging
授权日
1900-01-01
公开(公告)号
EP1524626A3
申请日
2004-07-14
公开(公告)日
2005-04-27
当前申请(专利权)人
SUNNYBROOK & WOMEN'S COLLEGE HEALTH SCIENCES CENTRE
发明人
TREMBLAY, MARLEINE | TAM, FRED | GRAHAM, SIMON JAMES | KUCHARCZYK, JOHN
简单同族
AU2004203173A1 | CA2473963A1 | EP1524626A2 | EP1524626A3 | US20050054910A1
简单同族成员数量
5
简单同族被引用专利总数
322
诉讼案件数
0
法律状态/事件
撤回
抱歉,您的浏览器不支持PDF预览,请点击链接下载PDF文件