专利数据库
统计分析
产业报告
专利数据监控
产业人才
行业动态
产业政策法规
维权援助
个人中心
详情
文本
图像
标题
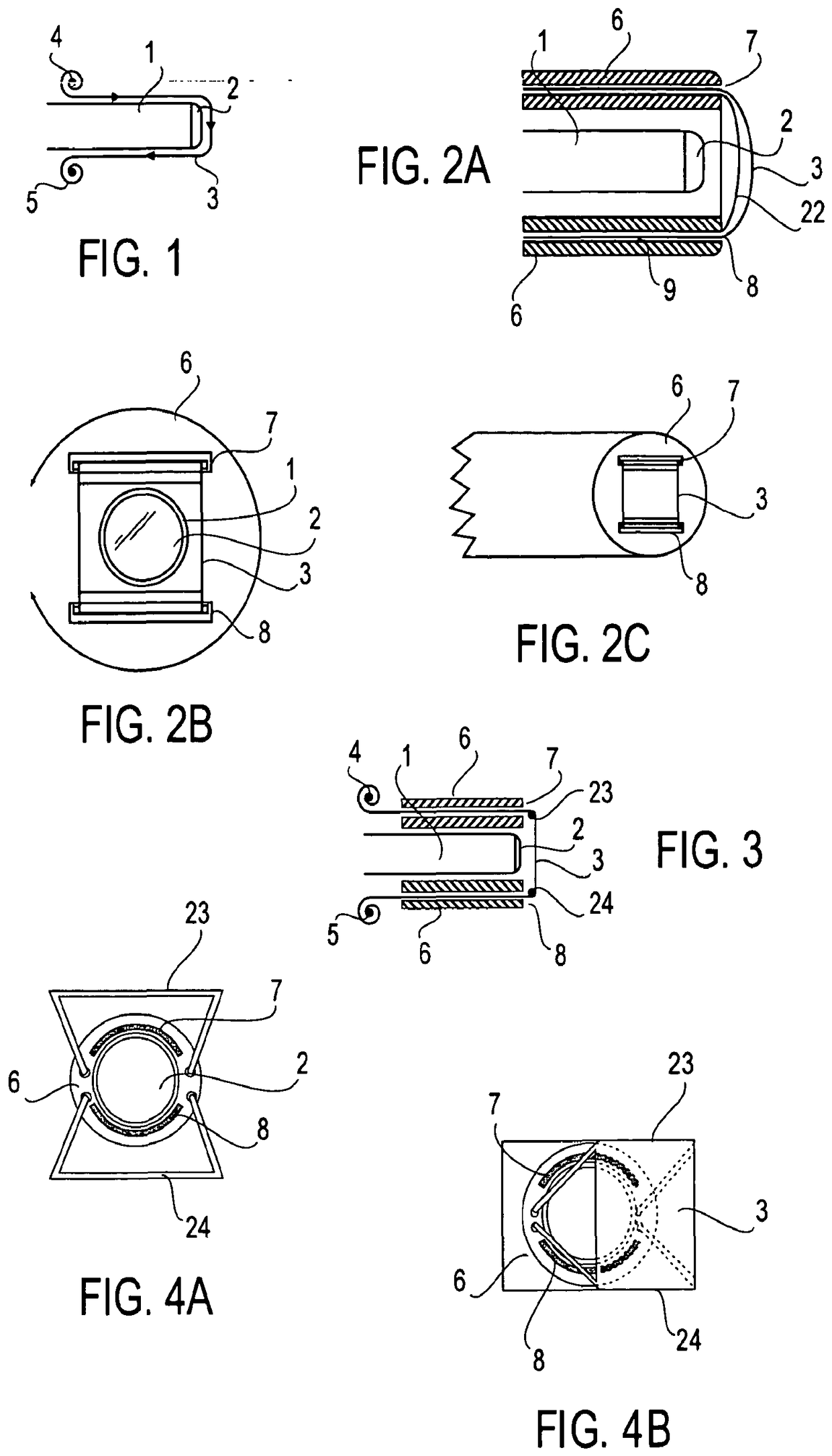
Devices for removal of debris from the objective lens of an endoscope
授权日
2018-10-31
公开(公告)号
EP2160214B1
申请日
2008-05-31
公开(公告)日
2018-10-31
当前申请(专利权)人
MEDEON BIODESIGN INC.
发明人
HSU, THOMAS | HSU, SENZAN
简单同族
EP2157917A1 | EP2157917A4 | EP2160214A2 | EP2160214A4 | EP2160214B1 | ES2708428T3 | PL2160214T3 | US10314566 | US20100174144A1 | US20100185217A1 | US20160128681A1 | US8979738 | US9241613 | WO2008153841A2 | WO2008153841A3 | WO2009002390A1
简单同族成员数量
16
简单同族被引用专利总数
138
诉讼案件数
0
法律状态/事件
授权 | 权利转移
抱歉,您的浏览器不支持PDF预览,请点击链接下载PDF文件