专利数据库
统计分析
产业报告
专利数据监控
产业人才
行业动态
产业政策法规
维权援助
个人中心
详情
文本
图像
标题
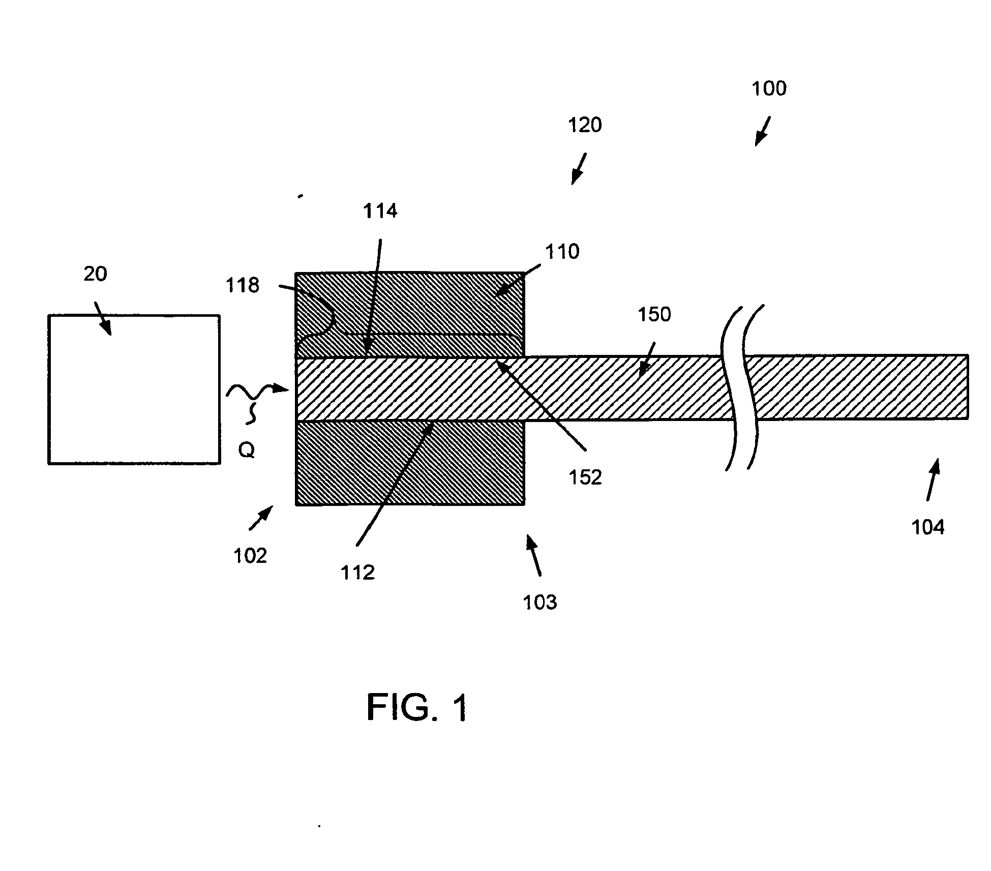
Methods and apparatus related to a launch connector portion of a ureteroscope laser-energy-delivery device
授权日
2013-01-23
公开(公告)号
EP2232315B1
申请日
2008-12-22
公开(公告)日
2013-01-23
当前申请(专利权)人
BOSTON SCIENTIFIC SCIMED, INC.
发明人
ZERFAS, JEFFREY W. | JORTBERG, PAUL | TUMMINELLI, RICHARD P.
简单同族
EP2232315A1 | EP2232315B1 | US20090180745A1 | US20130195412A1 | US20150066004A1 | US20160216449A1 | US8419293 | US8888378 | US9329350 | US9519107 | WO2009086268A1
简单同族成员数量
11
简单同族被引用专利总数
26
诉讼案件数
0
法律状态/事件
授权
抱歉,您的浏览器不支持PDF预览,请点击链接下载PDF文件