专利数据库
统计分析
产业报告
专利数据监控
产业人才
行业动态
产业政策法规
维权援助
个人中心
详情
文本
图像
标题
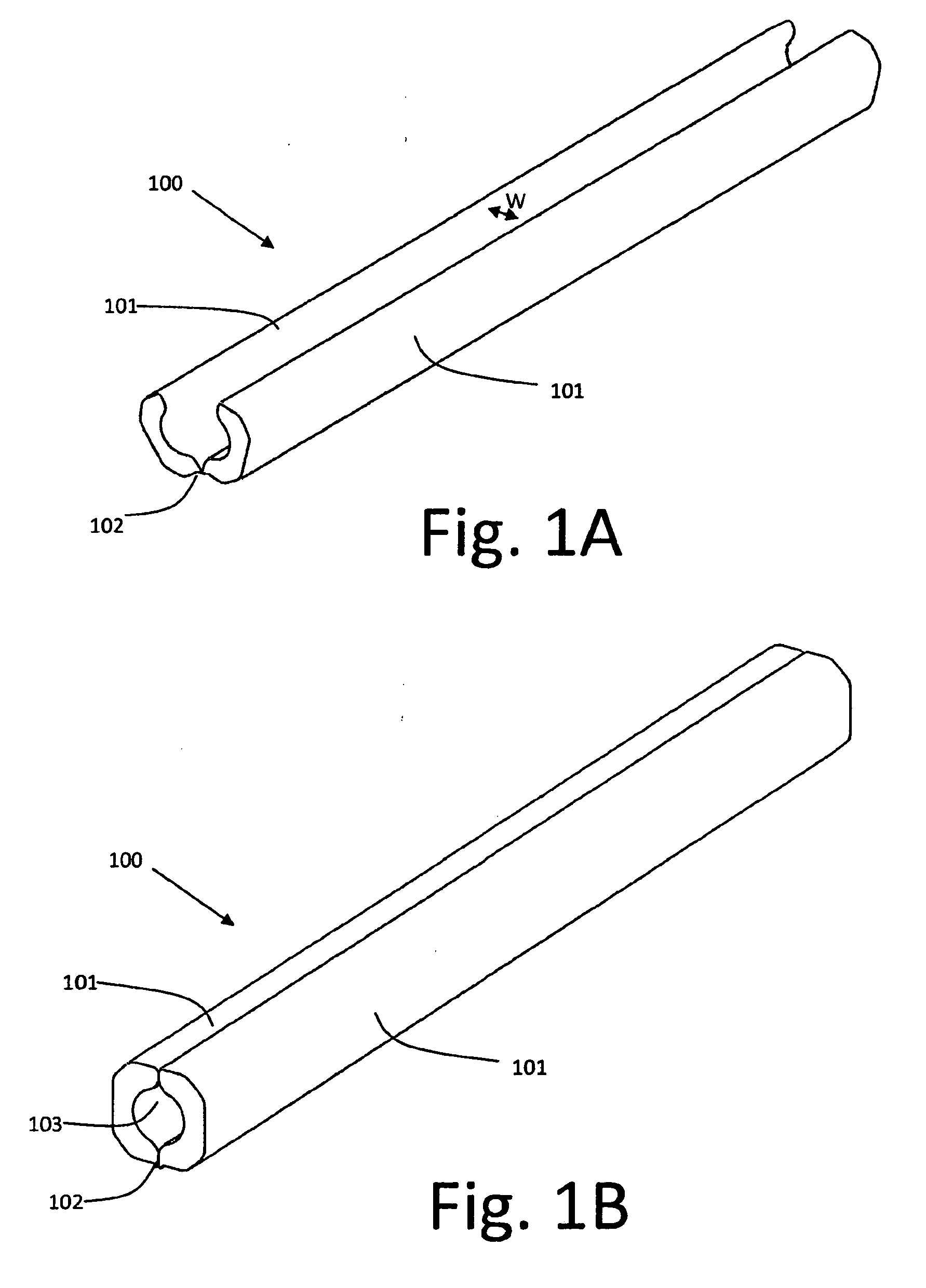
Device for rolling and inserting a prosthetic patch into a body cavity
授权日
1900-01-01
公开(公告)号
EP2433588A2
申请日
2011-09-14
公开(公告)日
2012-03-28
当前申请(专利权)人
COVIDIEN LP
发明人
LEVIN, OFEK | LEVEY, ARIE
简单同族
AU2011223992A1 | AU2011223992B2 | CA2752378A1 | CA2752378C | CA3052017A1 | EP2433588A2 | EP2433588A3 | EP2433588B1 | JP2012066077A | JP2012066077A5 | JP5854723B2 | US20110034942A1 | US20130053873A1 | US8317808 | US8734473
简单同族成员数量
15
简单同族被引用专利总数
78
诉讼案件数
0
法律状态/事件
授权 | 权利转移
抱歉,您的浏览器不支持PDF预览,请点击链接下载PDF文件