专利数据库
统计分析
产业报告
专利数据监控
产业人才
行业动态
产业政策法规
维权援助
个人中心
详情
文本
图像
标题
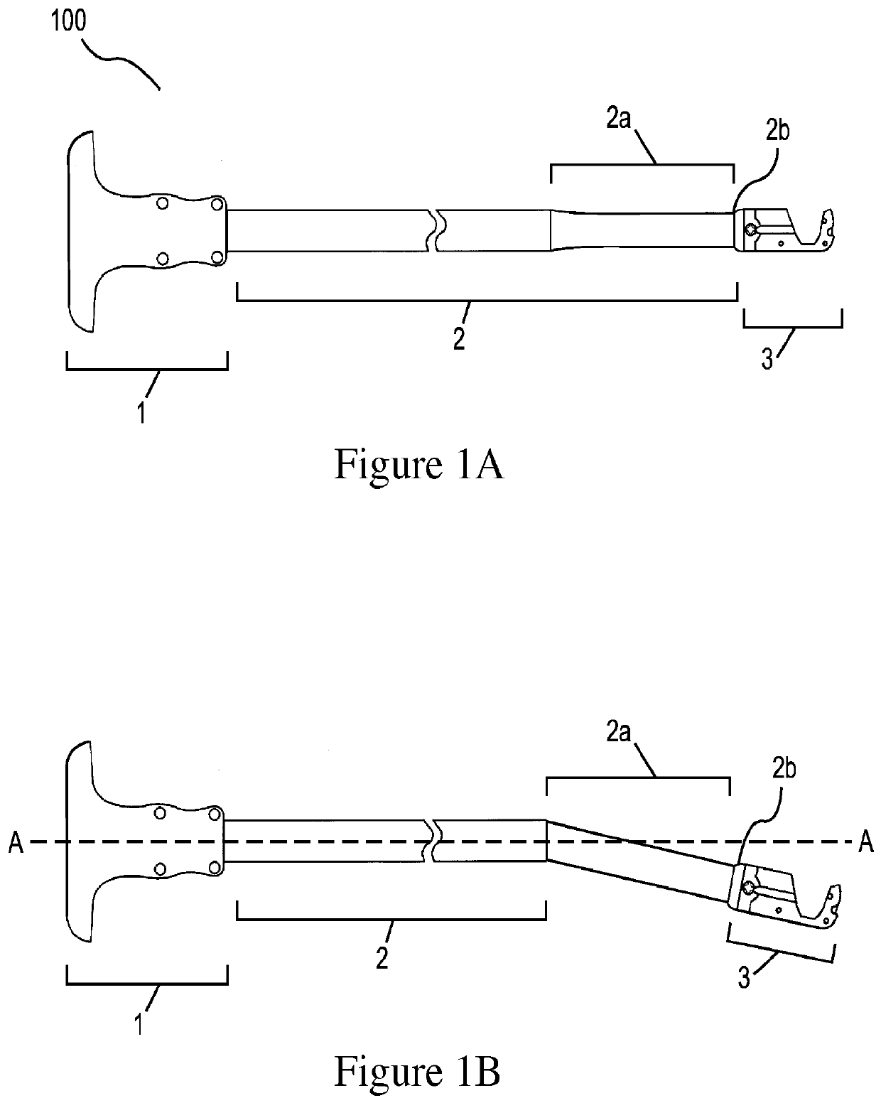
Flexible suturing instrument
授权日
2019-09-25
公开(公告)号
EP2683304B1
申请日
2012-02-21
公开(公告)日
2019-09-25
当前申请(专利权)人
BOSTON SCIENTIFIC SCIMED, INC.
发明人
FAIRNENY, TY
简单同族
EP2683304A1 | EP2683304B1 | US20120232567A1 | US20190142413A1 | WO2012121877A1
简单同族成员数量
5
简单同族被引用专利总数
23
诉讼案件数
0
法律状态/事件
授权
抱歉,您的浏览器不支持PDF预览,请点击链接下载PDF文件