专利数据库
统计分析
产业报告
专利数据监控
产业人才
行业动态
产业政策法规
维权援助
个人中心
详情
文本
图像
标题
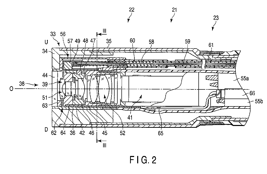
Insertion section of endoscope
授权日
1900-01-01
公开(公告)号
EP2324754A1
申请日
2009-10-23
公开(公告)日
2011-05-25
当前申请(专利权)人
OLYMPUS MEDICAL SYSTEMS CORP.
发明人
AONO, SUSUMU | KOKUBO, MITSUTAKA
简单同族
CN102131450A | CN102131450B | EP2324754A1 | EP2324754A4 | EP2324754B1 | JP4624484B2 | JPWO2010047396A1 | US20100268027A1 | US8142351 | WO2010047396A1
简单同族成员数量
10
简单同族被引用专利总数
42
诉讼案件数
0
法律状态/事件
权利终止
抱歉,您的浏览器不支持PDF预览,请点击链接下载PDF文件