专利数据库
统计分析
产业报告
专利数据监控
产业人才
行业动态
产业政策法规
维权援助
个人中心
详情
文本
图像
标题
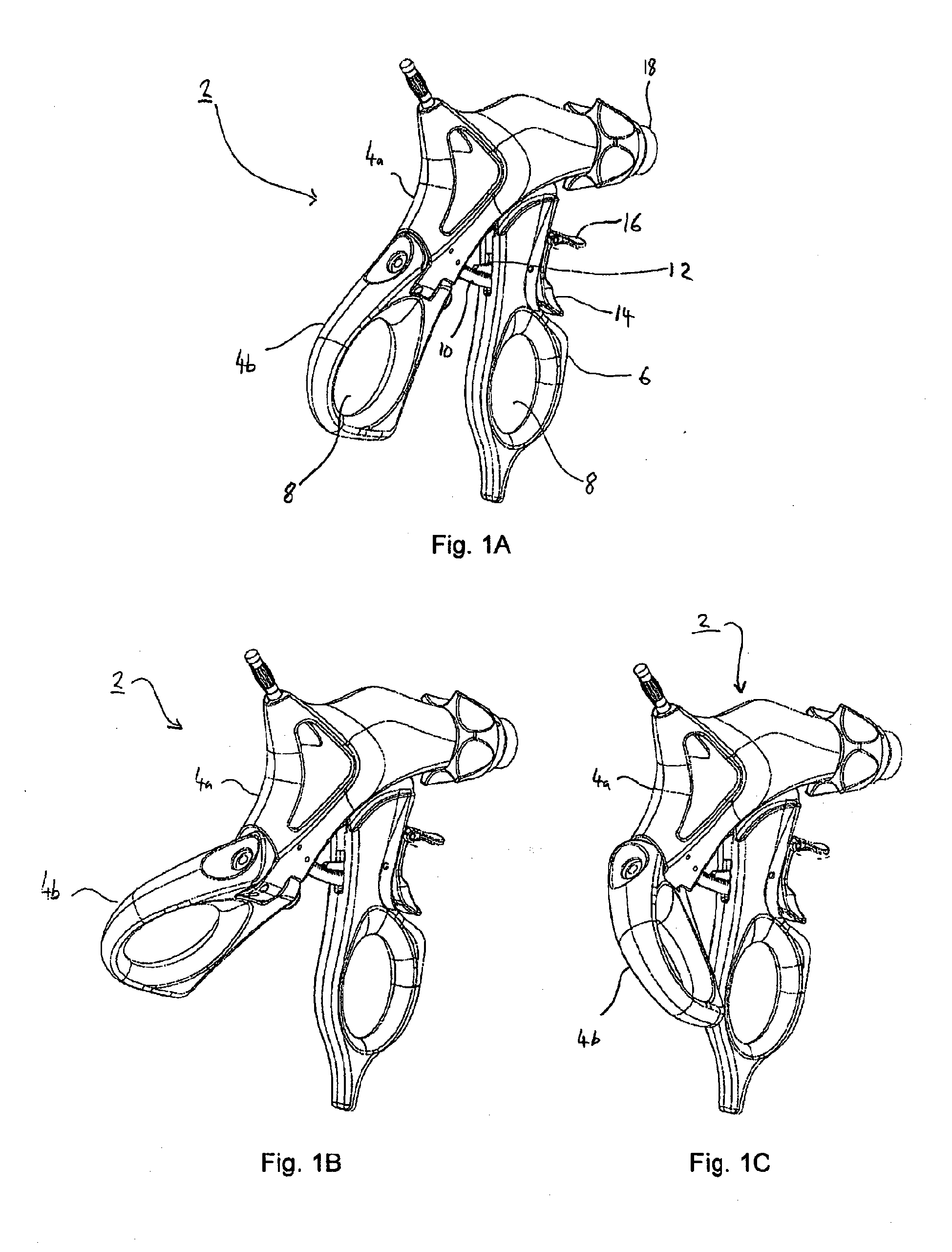
Handle for a surgical instrument and surgical instrument assembly
授权日
2014-03-19
公开(公告)号
EP2259732B1
申请日
2009-02-27
公开(公告)日
2014-03-19
当前申请(专利权)人
SURGICAL INNOVATIONS LIMITED
发明人
MAIN, DAVID | HELLINGA, ANNA SOPHIA | MORAN, PETER
简单同族
AU2009219896A1 | AU2009219896B2 | BRPI0907924A2 | CA2716192A1 | CN101965156A | CN101965156B | EP2259732A1 | EP2259732B1 | GB0803773D0 | GB2460392A | GB2460392B | HK1138745A | JP2011512927A | JP5611843B2 | US20110009850A1 | US8551077 | WO2009106898A1 | ZA201005782B
简单同族成员数量
18
简单同族被引用专利总数
214
诉讼案件数
0
法律状态/事件
权利终止
抱歉,您的浏览器不支持PDF预览,请点击链接下载PDF文件