专利数据库
统计分析
产业报告
专利数据监控
产业人才
行业动态
产业政策法规
维权援助
个人中心
详情
文本
图像
标题
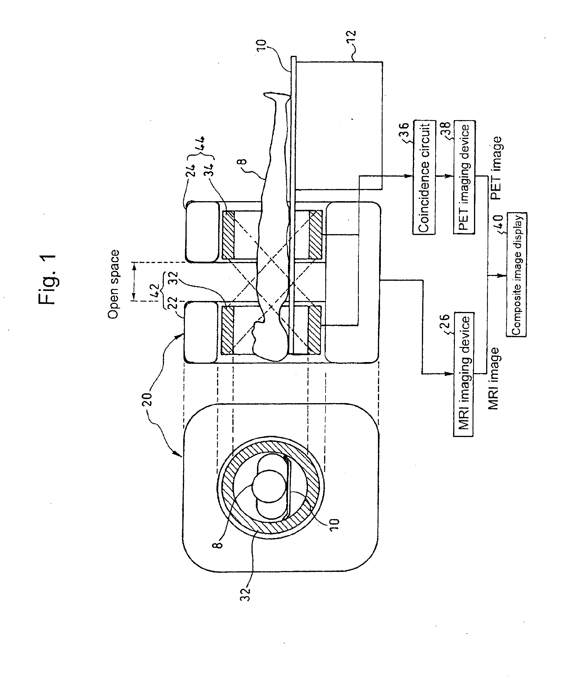
Open pet-MRI machine
授权日
2015-04-01
公开(公告)号
EP2407101B1
申请日
2009-03-12
公开(公告)日
2015-04-01
当前申请(专利权)人
NATIONAL INSTITUTE OF RADIOLOGICAL SCIENCES
发明人
YAMAYA, TAIGA | MURAYAMA, HIDEO | OBATA, TAKAYUKI | AOKI, ICHIO
简单同族
EP2407101A1 | EP2407101A4 | EP2407101B1 | JP5224421B2 | JPWO2010103644A1 | US20120150017A1 | WO2010103644A1
简单同族成员数量
7
简单同族被引用专利总数
49
诉讼案件数
0
法律状态/事件
授权
抱歉,您的浏览器不支持PDF预览,请点击链接下载PDF文件