专利数据库
统计分析
产业报告
专利数据监控
产业人才
行业动态
产业政策法规
维权援助
个人中心
详情
文本
图像
标题
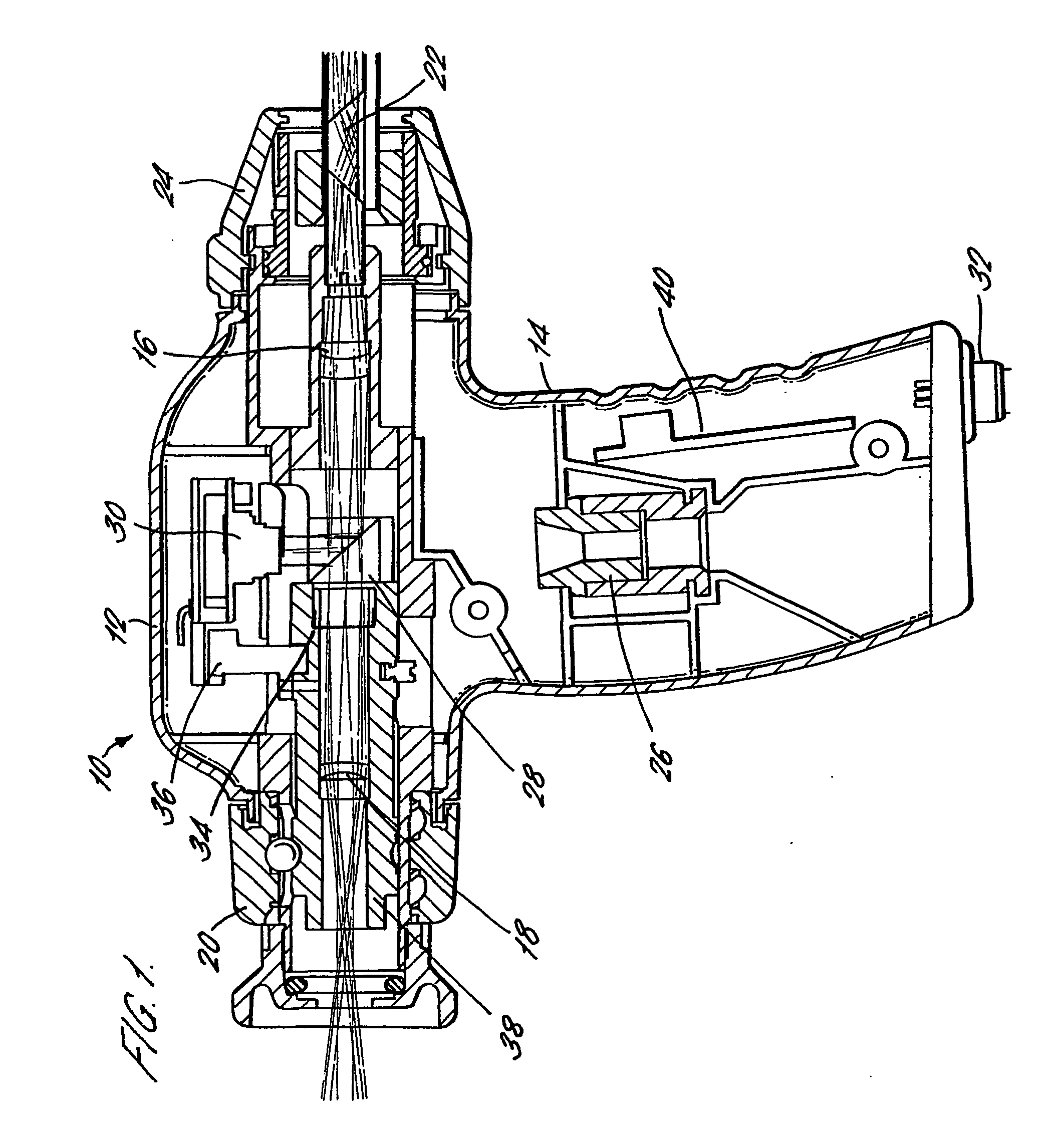
Borescope with simultaneous video and direct viewing
授权日
2005-11-30
公开(公告)号
EP1514150B1
申请日
2003-05-02
公开(公告)日
2005-11-30
当前申请(专利权)人
KEYMED (MEDICAL & INDUSTRIAL EQUIPMENT) LIMITED
发明人
SPENCER, LEE
简单同族
DE60302574D1 | DE60302574T2 | EP1514150A1 | EP1514150B1 | GB0213982D0 | GB2389914A | GB2389914B | JP2005529700A | JP4440769B2 | US20040189799A1 | US7099078 | WO2003107068A1
简单同族成员数量
12
简单同族被引用专利总数
43
诉讼案件数
0
法律状态/事件
权利终止
抱歉,您的浏览器不支持PDF预览,请点击链接下载PDF文件