专利数据库
统计分析
产业报告
专利数据监控
产业人才
行业动态
产业政策法规
维权援助
个人中心
详情
文本
图像
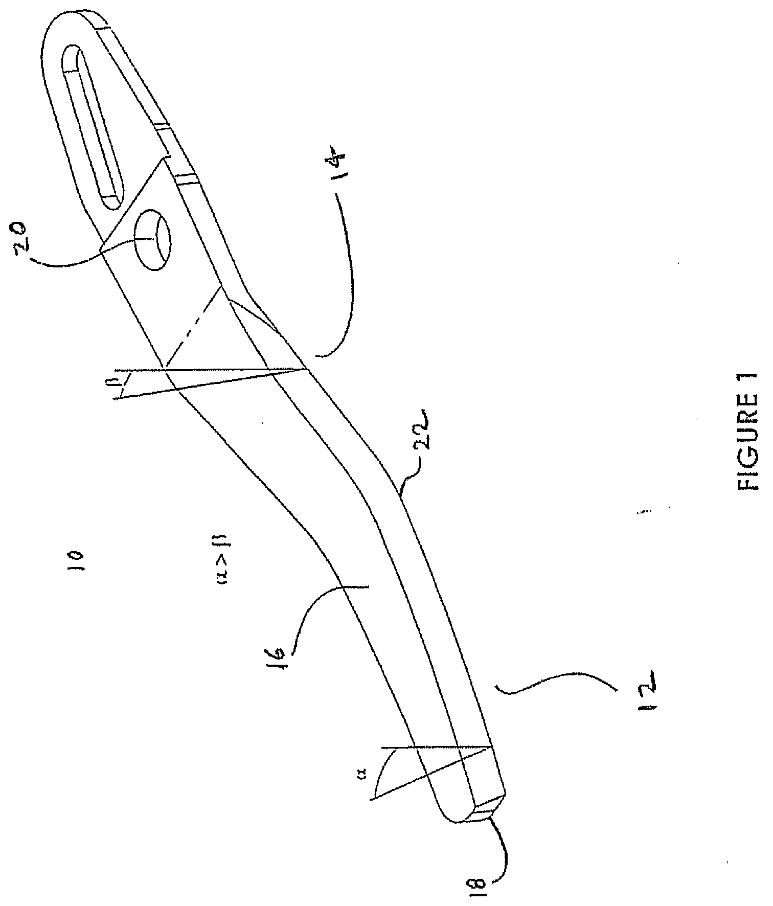
标题
Multiple-angle scissor blade
授权日
2016-06-08
公开(公告)号
EP1680033B1
申请日
2004-10-29
公开(公告)日
2016-06-08
当前申请(专利权)人
APPLIED MEDICAL RESOURCES CORPORATION
发明人
AHLBERG, RUSSELL, E. | JOHNSON, GARY, M. | OKIHISA, DAVID
简单同族
AU2004308247A1 | AU2004308247B2 | CA2543792A1 | EP1680033A2 | EP1680033A4 | EP1680033B1 | JP2007510461A | US20050149087A1 | US20100005929A1 | US8590428 | WO2005062750A2 | WO2005062750A3
简单同族成员数量
12
简单同族被引用专利总数
85
诉讼案件数
0
法律状态/事件
授权
抱歉,您的浏览器不支持PDF预览,请点击链接下载PDF文件