专利数据库
统计分析
产业报告
专利数据监控
产业人才
行业动态
产业政策法规
维权援助
个人中心
详情
文本
图像
标题
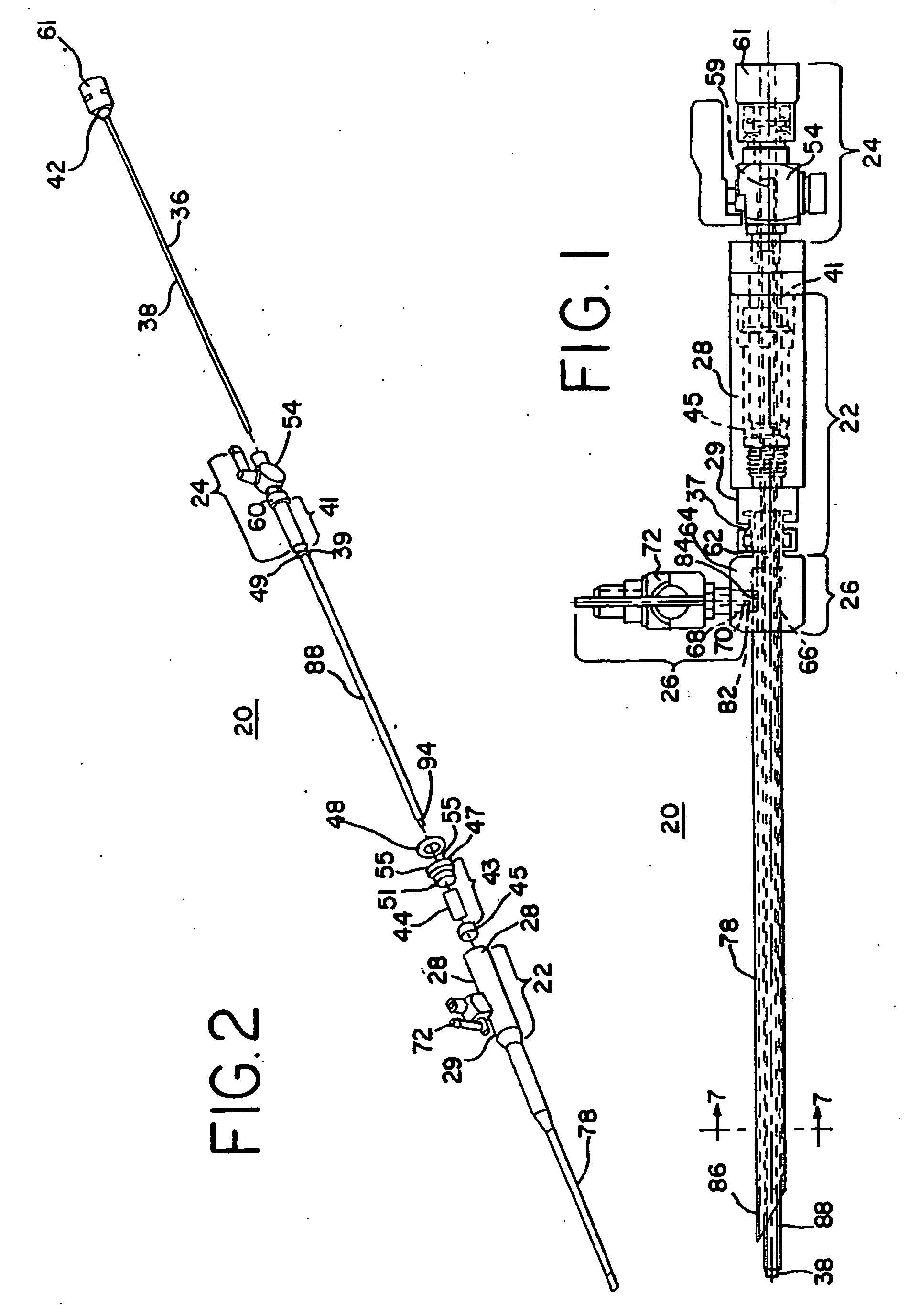
Laparoscopic insertion device
授权日
2012-06-13
公开(公告)号
EP1381421B1
申请日
2002-04-22
公开(公告)日
2012-06-13
当前申请(专利权)人
NORTHGATE TECHNOLOGIES INCORPORATED
发明人
MANTELL, ROBERT, R. | MANZIE, PETER, A.
简单同族
CA2444303A1 | CA2444303C | CA2779046A1 | EP1381421A1 | EP1381421A4 | EP1381421B1 | EP2380621A2 | EP2380621A3 | EP2380621B1 | US20020183715A1 | US6905489 | WO2002085444A1
简单同族成员数量
12
简单同族被引用专利总数
111
诉讼案件数
0
法律状态/事件
授权
抱歉,您的浏览器不支持PDF预览,请点击链接下载PDF文件