专利数据库
统计分析
产业报告
专利数据监控
产业人才
行业动态
产业政策法规
维权援助
个人中心
详情
文本
图像
标题
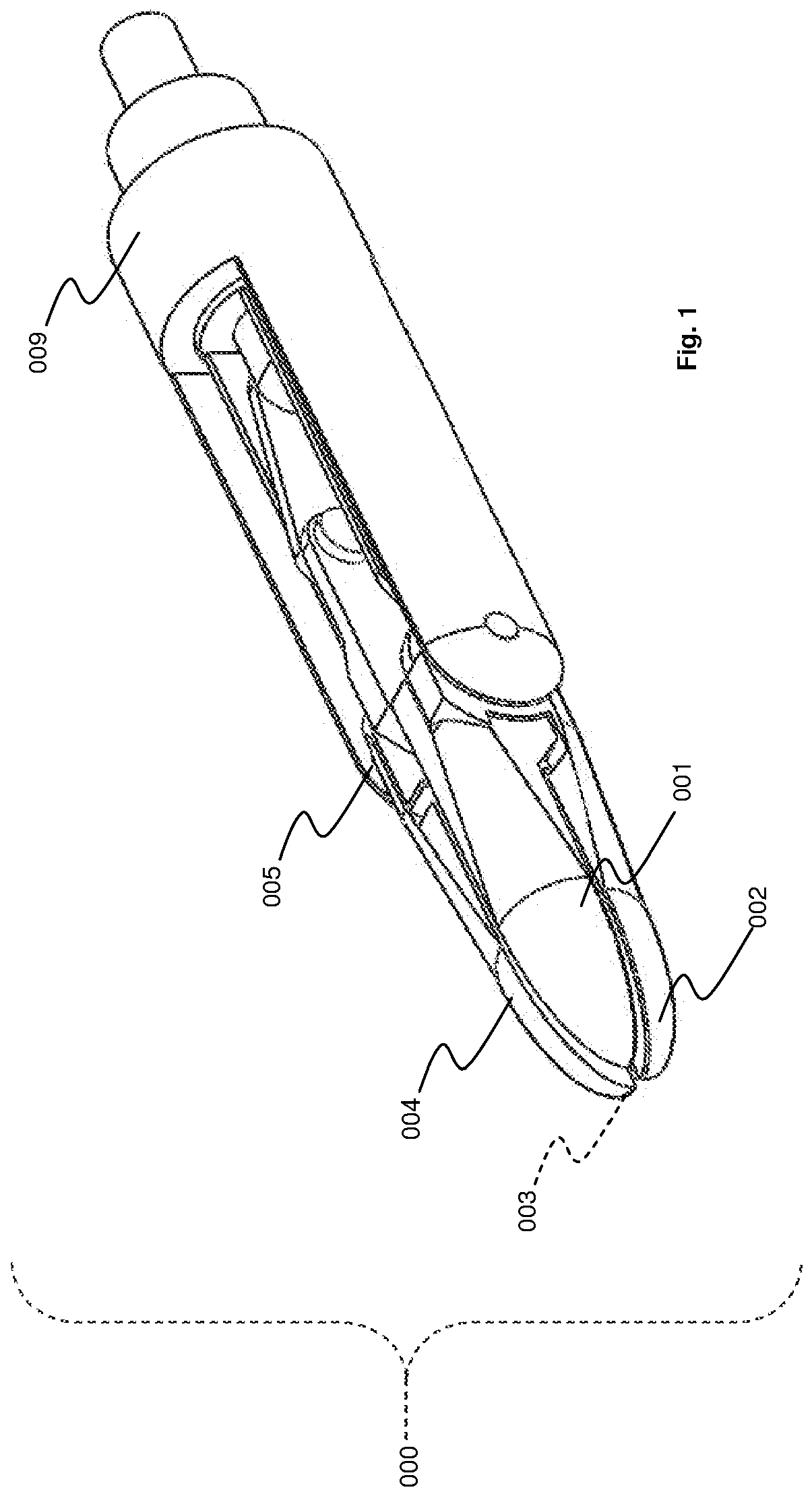
Combinational scissor-grasper tool for use in laparoscopy
授权日
2018-12-12
公开(公告)号
EP2584980B1
申请日
2011-06-22
公开(公告)日
2018-12-12
当前申请(专利权)人
INTUITIVE SURGICAL OPERATIONS, INC.
发明人
THONDIYATH, ASOKAN | DEODHAR, CHINMAY
简单同族
CN103547225A | CN103547225B | CN107432761A | EP2584980A2 | EP2584980A4 | EP2584980B1 | EP3524185A2 | EP3524185A3 | KR101926743B1 | KR1020130109024A | KR1020180133535A | KR102074171B1 | US20120209305A1 | US8870902 | WO2011161626A2 | WO2011161626A3
简单同族成员数量
16
简单同族被引用专利总数
32
诉讼案件数
0
法律状态/事件
授权 | 权利转移
抱歉,您的浏览器不支持PDF预览,请点击链接下载PDF文件