专利数据库
统计分析
产业报告
专利数据监控
产业人才
行业动态
产业政策法规
维权援助
个人中心
详情
文本
图像
标题
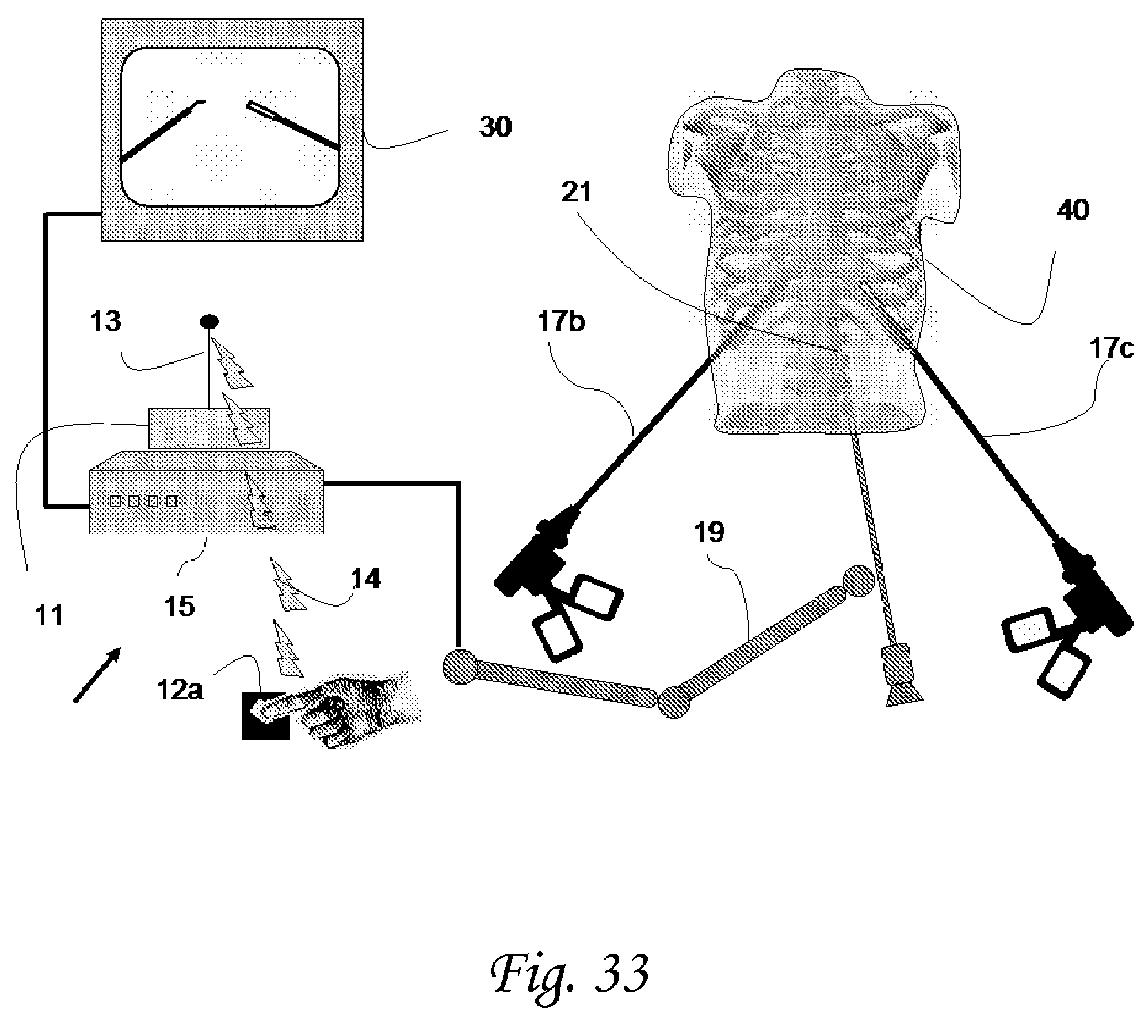
Device and methods of improving laparoscopic surgery
授权日
1900-01-01
公开(公告)号
EP2181645A1
申请日
2006-04-20
公开(公告)日
2010-05-05
当前申请(专利权)人
M.S.T. MEDICAL SURGERY TECHNOLOGIES LTD
发明人
SHOLEV, MORDEHAI
简单同族
BRPI0607526A2 | CA2606476A1 | CA2621738A1 | CN101184429A | EP1876942A2 | EP1876942A4 | EP2181645A1 | EP2181645B1 | EP2992811A1 | EP2992811B1 | JP2008155031A | JP2008538314A | WO2006111966A2 | WO2006111966A3
简单同族成员数量
14
简单同族被引用专利总数
59
诉讼案件数
0
法律状态/事件
授权
抱歉,您的浏览器不支持PDF预览,请点击链接下载PDF文件