专利数据库
统计分析
产业报告
专利数据监控
产业人才
行业动态
产业政策法规
维权援助
个人中心
详情
文本
图像
标题
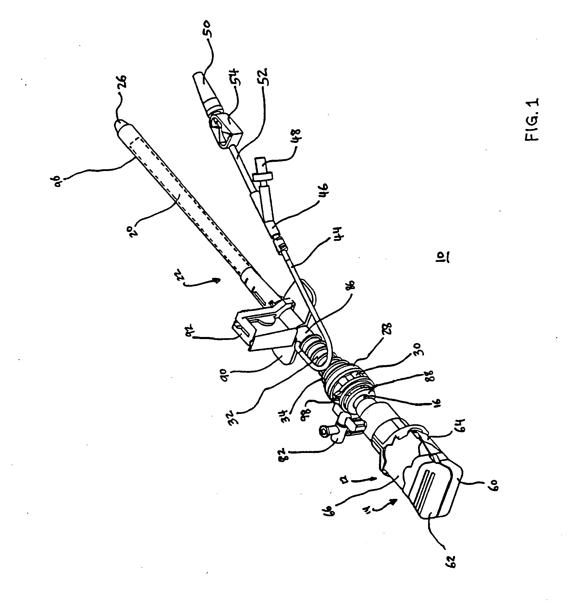
Specially shaped balloon device for use in surgery and method of use
授权日
2011-07-13
公开(公告)号
EP1098596B1
申请日
2000-05-26
公开(公告)日
2011-07-13
当前申请(专利权)人
GENERAL SURGICAL INNOVATIONS, INC.
发明人
TANAKA, SHIGERU | STAFFORD, GARY, ASHLEY
简单同族
AU2000051728A1 | AU760848B2 | CA2338485A1 | CA2338485C | EP1098596A1 | EP1098596A4 | EP1098596B1 | ES2369070T3 | JP2003500152A | JP4282242B2 | US20040243167A1 | US6860892 | US7226462 | WO2000072760A1
简单同族成员数量
14
简单同族被引用专利总数
287
诉讼案件数
0
法律状态/事件
权利终止 | 权利转移
抱歉,您的浏览器不支持PDF预览,请点击链接下载PDF文件