专利数据库
统计分析
产业报告
专利数据监控
产业人才
行业动态
产业政策法规
维权援助
个人中心
详情
文本
图像
标题
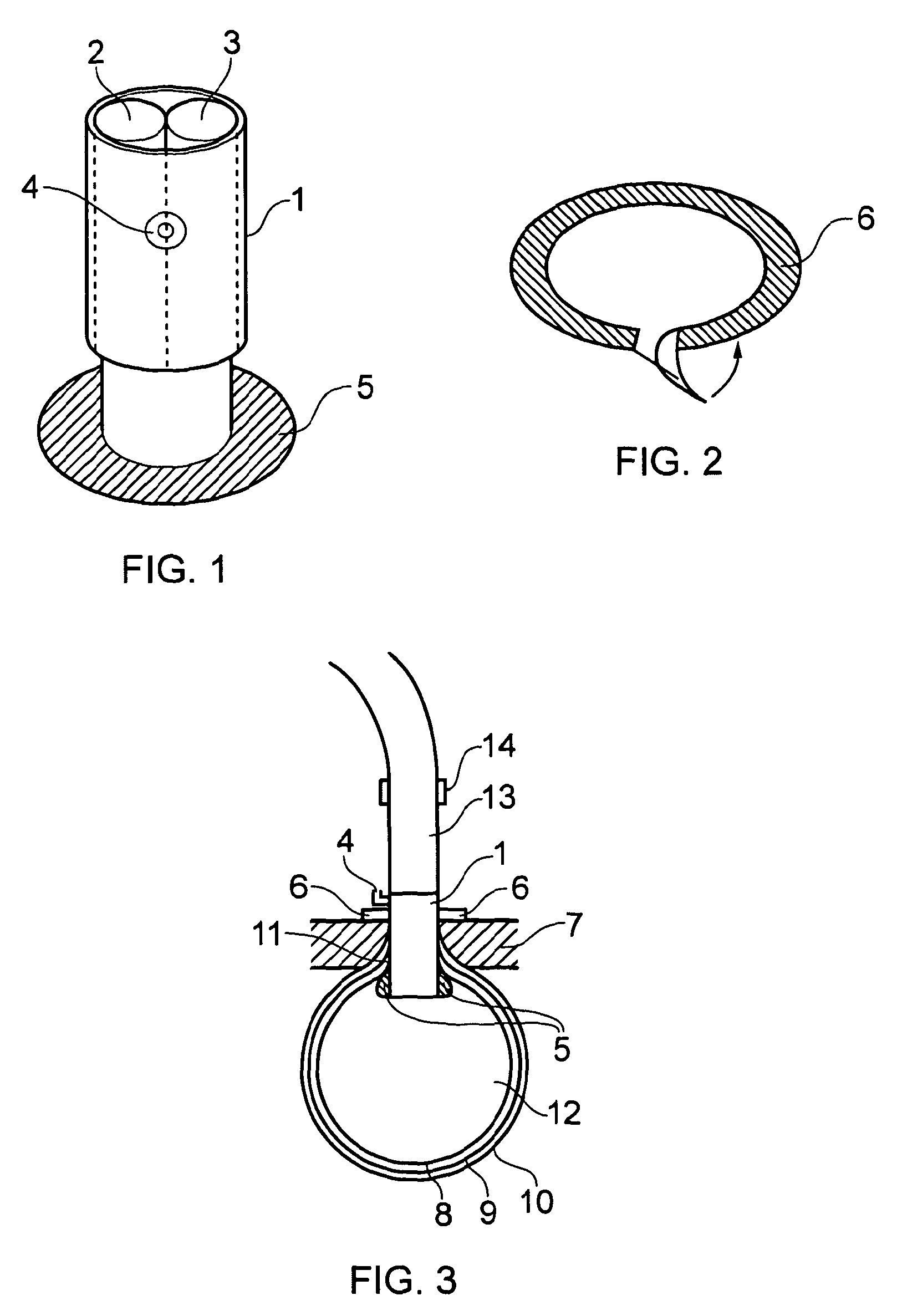
Medical device
授权日
2016-08-03
公开(公告)号
EP2544596B1
申请日
2011-03-07
公开(公告)日
2016-08-03
当前申请(专利权)人
ASHFORD & ST. PETER'S HOSPITALS
发明人
COLLINS, JUSTIN
简单同族
AU2011225880A1 | AU2011225880B2 | CA2790104A1 | CA2790104C | EP2544596A2 | EP2544596B1 | ES2587990T3 | GB201003817D0 | US20140135788A1 | US9655644 | WO2011110836A2 | WO2011110836A3
简单同族成员数量
12
简单同族被引用专利总数
36
诉讼案件数
0
法律状态/事件
授权
抱歉,您的浏览器不支持PDF预览,请点击链接下载PDF文件