专利数据库
统计分析
产业报告
专利数据监控
产业人才
行业动态
产业政策法规
维权援助
个人中心
详情
文本
图像
标题
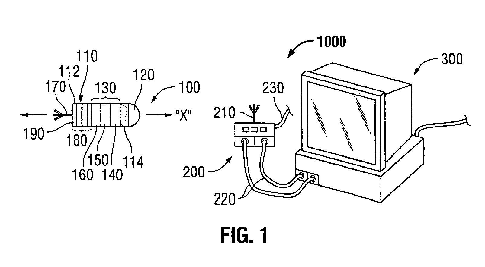
Wireless laparoscopic camera
授权日
1900-01-01
公开(公告)号
EP2366356A1
申请日
2011-03-15
公开(公告)日
2011-09-21
当前申请(专利权)人
COVIDIEN LP
发明人
MA, YOUG | STANLEY, ERIC | DURAVASULA, RAVI | POWER, JAMES
简单同族
AU2011200954A1 | CA2732539A1 | CN102188225A | EP2366356A1 | US20110261183A1 | US9610133
简单同族成员数量
6
简单同族被引用专利总数
49
诉讼案件数
0
法律状态/事件
撤回 | 权利转移
抱歉,您的浏览器不支持PDF预览,请点击链接下载PDF文件