专利数据库
统计分析
产业报告
专利数据监控
产业人才
行业动态
产业政策法规
维权援助
个人中心
详情
文本
图像
标题
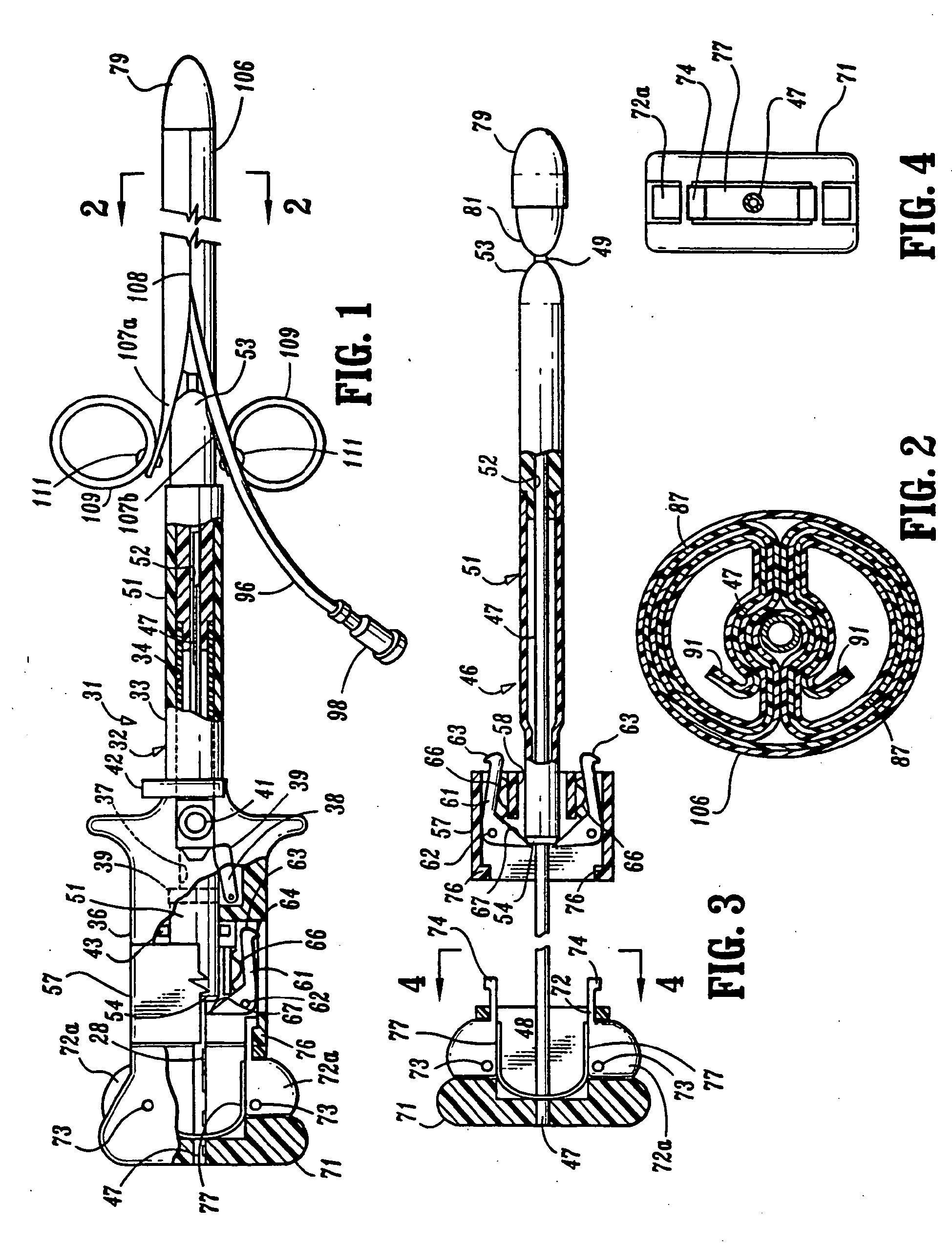
Balloon dissector
授权日
2009-09-09
公开(公告)号
EP1143860B1
申请日
2000-07-28
公开(公告)日
2009-09-09
当前申请(专利权)人
GENERAL SURGICAL INNOVATIONS, INC.
发明人
JERVIS, JAMES, E.
简单同族
AU2000062392A1 | AU773152B2 | CA2345056A1 | CA2345056C | DE60042918D1 | EP1143860A2 | EP1143860A3 | EP1143860B1 | ES2332352T3 | JP2003524471A | JP2003524471A5 | JP4536306B2 | US6364892 | WO2001008565A2 | WO2001008565A3
简单同族成员数量
15
简单同族被引用专利总数
28
诉讼案件数
0
法律状态/事件
授权
抱歉,您的浏览器不支持PDF预览,请点击链接下载PDF文件