专利数据库
统计分析
产业报告
专利数据监控
产业人才
行业动态
产业政策法规
维权援助
个人中心
详情
文本
图像
标题
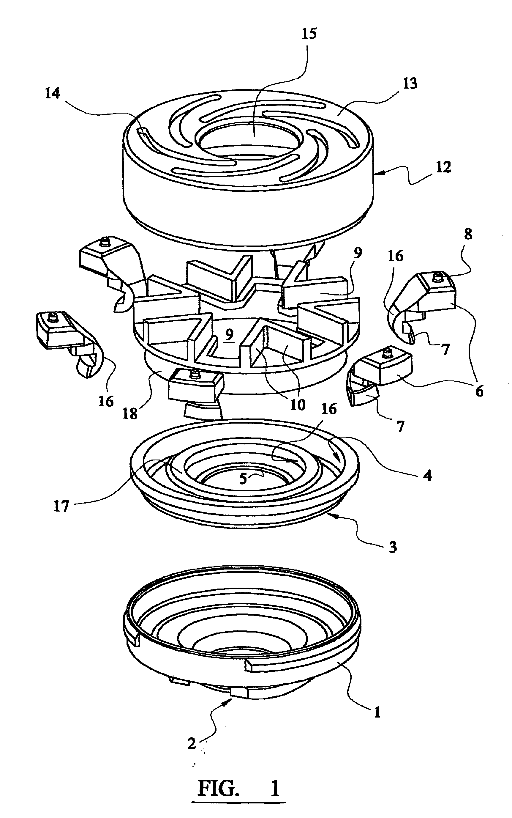
Surgical seal
授权日
2006-08-23
公开(公告)号
EP1284664B1
申请日
2001-05-24
公开(公告)日
2006-08-23
当前申请(专利权)人
APPLIED MEDICAL RESOURCES INC.
发明人
MORAN, PETER | ALMOND, THOMAS EDWARD
简单同族
AT336949T | AU2001062484A1 | CA2411173A1 | DE60122502D1 | DE60122502T2 | EP1284664A1 | EP1284664B1 | GB0012461D0 | JP2003533328A | US20020072713A1 | US20040215209A1 | US7722570 | WO2001089397A1
简单同族成员数量
13
简单同族被引用专利总数
144
诉讼案件数
0
法律状态/事件
授权 | 权利转移
抱歉,您的浏览器不支持PDF预览,请点击链接下载PDF文件