专利数据库
统计分析
产业报告
专利数据监控
产业人才
行业动态
产业政策法规
维权援助
个人中心
详情
文本
图像
标题
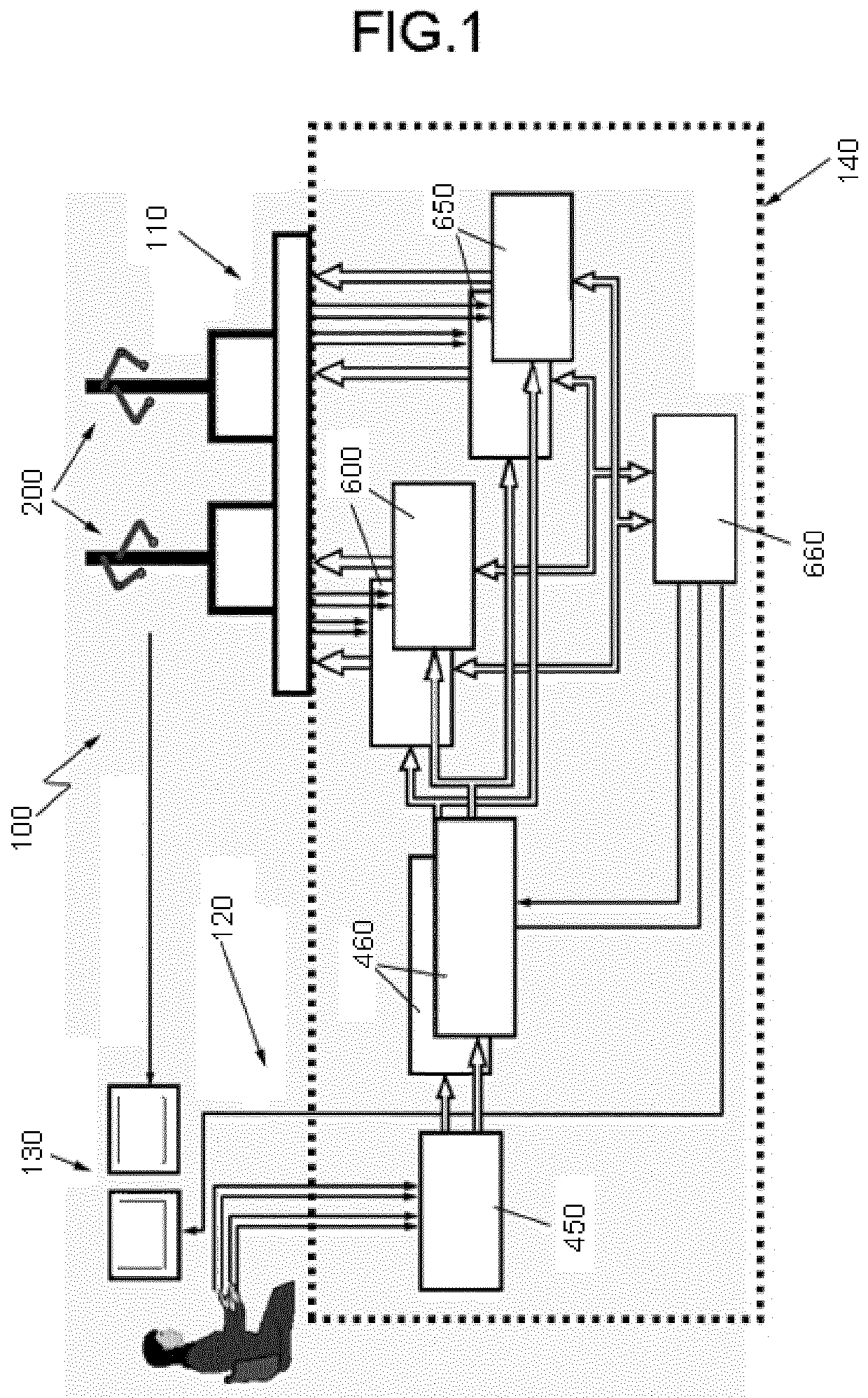
Robotic system for laparoscopic surgery
授权日
2017-09-13
公开(公告)号
EP2433585B1
申请日
2010-05-20
公开(公告)日
2017-09-13
当前申请(专利权)人
UNIVERSITAT POLITÈCNICA DE CATALUNYA
发明人
AMAT GIRBAU, JOSEP | CASALS GELPI, ALICIA | FRIGOLA BOURLON, MANEL
简单同族
AU2010251107A1 | AU2010251107B2 | BRPI1011053A2 | CA2762780A1 | CA2762780C | CN102458295A | CN102458295B | EP2433585A1 | EP2433585A4 | EP2433585B1 | ES2388029A1 | ES2388029B1 | ES2655029T3 | HK1168018A | HK1168018A1 | IL216470D0 | JP2012527276A | JP2012527276A5 | JP5785538B2 | KR101665744B1 | KR1020120068768A | MX2011012295A | MX336487B | PL2433585T3 | RU2011152395A | RU2531469C2 | SG176183A1 | US20120136372A1 | US9119653 | WO2010133733A1 | ZA201109443B
简单同族成员数量
31
简单同族被引用专利总数
46
诉讼案件数
0
法律状态/事件
授权
抱歉,您的浏览器不支持PDF预览,请点击链接下载PDF文件