专利数据库
统计分析
产业报告
专利数据监控
产业人才
行业动态
产业政策法规
维权援助
个人中心
详情
文本
图像
标题
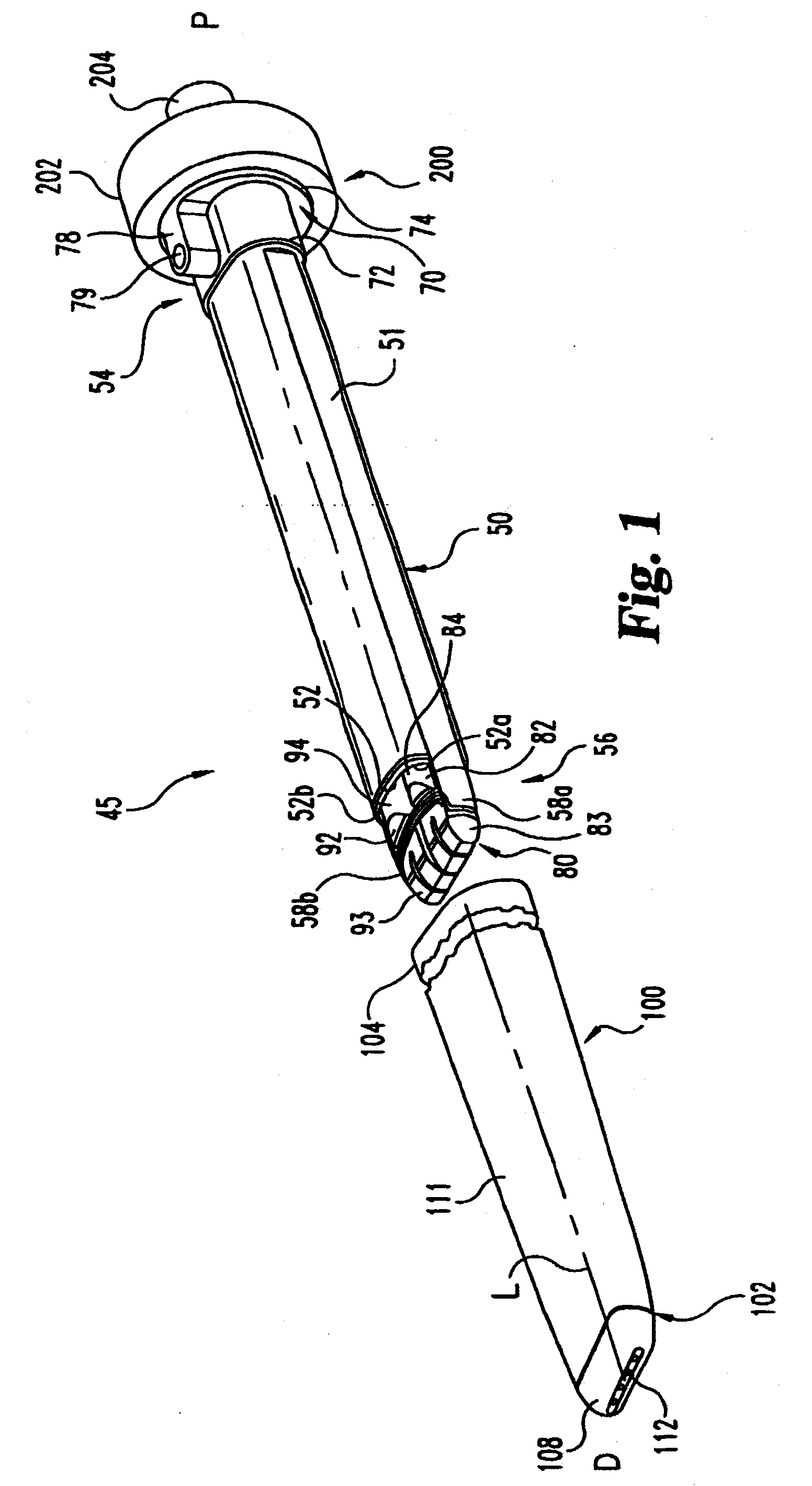
Laparoscopic instrument sleeve
授权日
2004-06-09
公开(公告)号
EP1265539B1
申请日
2001-02-16
公开(公告)日
2004-06-09
当前申请(专利权)人
SDGI HOLDINGS, INC.
发明人
ZDEBLICK, THOMAS, A. | MCGAHAN, THOMAS
简单同族
AT268574T | AU2001249989A1 | CA2401754A1 | DE60103744D1 | DE60103744T2 | DE60118633D1 | DE60118633T2 | DE60122599D1 | DE60122599T2 | DE60129361D1 | DE60129361T2 | EP1265539A2 | EP1265539B1 | EP1454590A1 | EP1454590B1 | EP1454591A1 | EP1454591B1 | EP1470789A2 | EP1470789A3 | EP1470789B1 | ES2222365T3 | ES2262055T3 | ES2270213T3 | JP2003526440A | JP2003526440A5 | JP4656795B2 | US6383191 | WO2001067966A2 | WO2001067966A3
简单同族成员数量
29
简单同族被引用专利总数
75
诉讼案件数
0
法律状态/事件
授权
抱歉,您的浏览器不支持PDF预览,请点击链接下载PDF文件