专利数据库
统计分析
产业报告
专利数据监控
产业人才
行业动态
产业政策法规
维权援助
个人中心
详情
文本
图像
标题
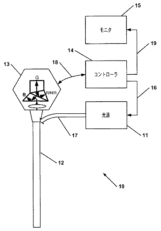
組み合わされたフルカラー反射および近赤外線画像化のための画像化システム
授权日
1900-01-01
公开(公告)号
JP2017136373A
申请日
2017-02-03
公开(公告)日
2017-08-10
当前申请(专利权)人
ノバダック テクノロジーズ インコーポレイテッド
发明人
ジョン フェングラー | ポール ウェストウィック | アーサー イー.ベイリー | ポール コットル
简单同族
CN102036599A | CN102036599B | EP2268194A1 | EP2268194A4 | EP2268194B1 | EP3117765A1 | HK1157169A | HK1157169A1 | HK1233149A | JP2011528918A | JP2011528918A5 | JP2013163027A | JP2016064150A | JP2016064150A5 | JP2017136373A | JP5231625B2 | JP5852979B2 | JP6088629B2 | JP6334755B2 | KR101517264B1 | KR1020100129768A | MX2010010292A | MX318222B | RU2010142292A | RU2510235C2 | US20110063427A1 | US20160100763A1 | US20170273567A1 | US9173554 | US9642532 | WO2009117483A1
简单同族成员数量
31
简单同族被引用专利总数
174
诉讼案件数
0
法律状态/事件
授权 | 权利转移
抱歉,您的浏览器不支持PDF预览,请点击链接下载PDF文件