专利数据库
统计分析
产业报告
专利数据监控
产业人才
行业动态
产业政策法规
维权援助
个人中心
详情
文本
图像
标题
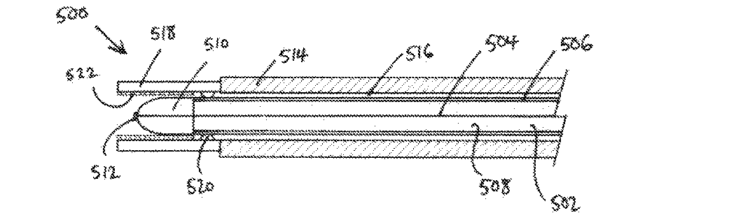
二重機能プラズマおよび非電離マイクロ波凝固電気手術器具ならびにこれを組み込んだ電気手術装置
授权日
1900-01-01
公开(公告)号
JP2019010520A
申请日
2018-08-08
公开(公告)日
2019-01-24
当前申请(专利权)人
クレオ·メディカル·リミテッド
发明人
ハンコック,クリストファー ポール | ホワイト,マルコム | ヘールズ,フィリップ ウィリアム | サンダース,ブライアン | ホームズ,サンドラ メイ バーナデット
简单同族
AU2014267060A1 | AU2014267060B2 | AU2018217260A1 | AU2018217260B2 | BR112015028276A2 | CA2912280A1 | CN105592886A | CN105592886B | DK2996768T3 | EP2996768A1 | EP2996768B1 | ES2638791T3 | GB201308558D0 | GB201408481D0 | GB201501567D0 | GB2516730A | GB2516730B | GB2520197A | GB2520197B | HK1219246A | HK1219246A1 | JP2016525902A | JP2019010520A | JP2020011083A | JP6386030B2 | JP6605673B2 | KR1020160006750A | PT2996768T | SG11201509090QA | US10342595 | US20160113700A1 | US20190269450A1 | WO2014184544A1
简单同族成员数量
33
简单同族被引用专利总数
30
诉讼案件数
0
法律状态/事件
授权
抱歉,您的浏览器不支持PDF预览,请点击链接下载PDF文件