专利数据库
统计分析
产业报告
专利数据监控
产业人才
行业动态
产业政策法规
维权援助
个人中心
详情
文本
图像
标题
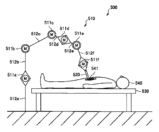
医療用支持アーム装置
授权日
1900-01-01
公开(公告)号
JPWO2016152255A1
申请日
2016-02-02
公开(公告)日
2018-01-18
当前申请(专利权)人
ソニー株式会社
发明人
新井 淳 | 神川 康久 | 宮澤 清和 | 黒田 容平 | 松田 康宏 | 福島 哲治
简单同族
EP3260051A1 | EP3260051A4 | JPWO2016152255A1 | US20180042464A1 | WO2016152255A1
简单同族成员数量
5
简单同族被引用专利总数
21
诉讼案件数
0
法律状态/事件
授权
抱歉,您的浏览器不支持PDF预览,请点击链接下载PDF文件