专利数据库
统计分析
产业报告
专利数据监控
产业人才
行业动态
产业政策法规
维权援助
个人中心
详情
文本
图像
标题
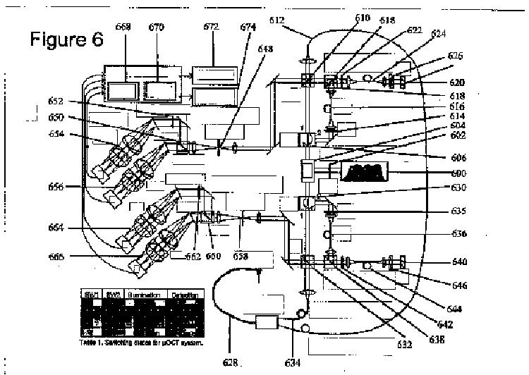
特定の分解能にて少なくとも1つの解剖構造の微細画像を提供するシステム、方法およびコンピュータがアクセス可能な媒体
授权日
1900-01-01
公开(公告)号
JP2013521071A
申请日
2011-03-07
公开(公告)日
2013-06-10
当前申请(专利权)人
ザ ジェネラル ホスピタル コーポレイション
发明人
ティアニー ギレルモ ジェイ. | ボウマ ブレット イー. | ガーデッキ ジョセフ エー. | リュウ リンボ
简单同族
EP2542145A2 | EP2542145A4 | EP2542153A2 | EP2542153A4 | EP2542154A2 | EP2542154A4 | JP2013521070A | JP2013521071A | JP2013521507A | JP2013521507A5 | JP5819864B2 | JP5934121B2 | JP6029983B2 | KR1020130004326A | KR1020130028909A | KR1020130035254A | US10463254 | US20110218403A1 | US20110261366A1 | US20120008146A1 | US20150029513A1 | US20150238084A1 | US20170367581A1 | US20200046227A1 | US8804126 | US8896838 | US9081148 | US9408539 | US9642531 | WO2011109818A2 | WO2011109818A3 | WO2011109828A2 | WO2011109828A3 | WO2011109835A2 | WO2011109835A3
简单同族成员数量
35
简单同族被引用专利总数
93
诉讼案件数
0
法律状态/事件
授权
抱歉,您的浏览器不支持PDF预览,请点击链接下载PDF文件