专利数据库
统计分析
产业报告
专利数据监控
产业人才
行业动态
产业政策法规
维权援助
个人中心
详情
文本
图像
标题
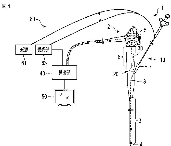
挿入部及び挿入部材を有する挿入システム
授权日
1900-01-01
公开(公告)号
JP2014076174A
申请日
2012-10-10
公开(公告)日
2014-05-01
当前申请(专利权)人
オリンパス株式会社
发明人
東條 良
简单同族
CN104717913A | CN104717913B | EP2907445A1 | EP2907445A4 | EP2907445B1 | JP2014076174A | JP6061602B2 | US10188315 | US20150208947A1 | WO2014057853A1
简单同族成员数量
10
简单同族被引用专利总数
32
诉讼案件数
0
法律状态/事件
授权
抱歉,您的浏览器不支持PDF预览,请点击链接下载PDF文件