专利数据库
统计分析
产业报告
专利数据监控
产业人才
行业动态
产业政策法规
维权援助
个人中心
详情
文本
图像
标题
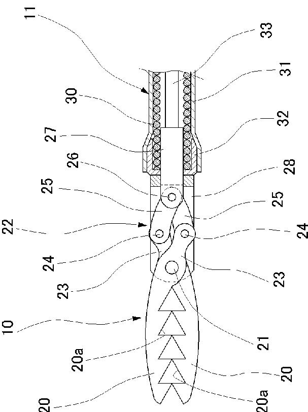
高周波処置具
授权日
2014-10-24
公开(公告)号
JP5636449B2
申请日
2013-02-05
公开(公告)日
2014-12-03
当前申请(专利权)人
赤星 和也 | 富士フイルム株式会社
发明人
赤星 和也 | 赤羽 秀文
简单同族
CN101310685A | CN101310685B | EP1994904A1 | EP1994904B1 | JP2009006128A | JP2013078687A | JP5636449B2 | US20080294159A1
简单同族成员数量
8
简单同族被引用专利总数
110
诉讼案件数
0
法律状态/事件
授权
抱歉,您的浏览器不支持PDF预览,请点击链接下载PDF文件