专利数据库
统计分析
产业报告
专利数据监控
产业人才
行业动态
产业政策法规
维权援助
个人中心
详情
文本
图像
标题
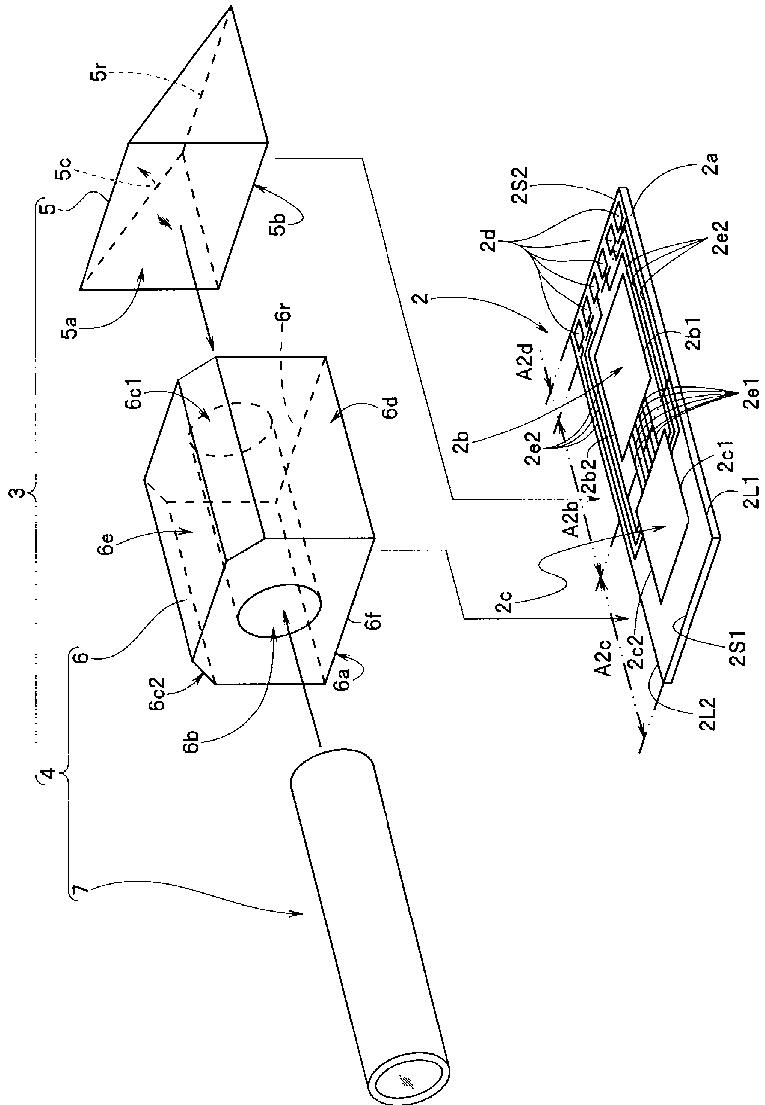
撮像装置
授权日
1900-01-01
公开(公告)号
JP2012254176A
申请日
2011-06-08
公开(公告)日
2012-12-27
当前申请(专利权)人
オリンパス株式会社
发明人
吉田 和洋
简单同族
EP2719319A1 | EP2719319A4 | JP2012254176A | JP6210656B2 | US20140078280A1 | US9967486 | WO2012169444A1
简单同族成员数量
7
简单同族被引用专利总数
22
诉讼案件数
0
法律状态/事件
授权
抱歉,您的浏览器不支持PDF预览,请点击链接下载PDF文件