专利数据库
统计分析
产业报告
专利数据监控
产业人才
行业动态
产业政策法规
维权援助
个人中心
详情
文本
图像
标题
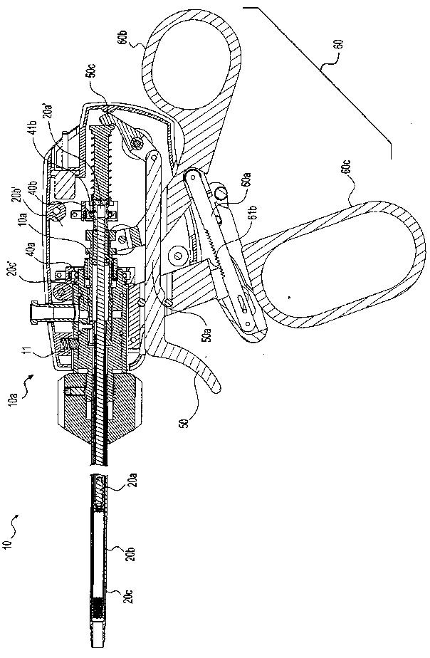
内視鏡用バイポーラ型高周波鋏片
授权日
1900-01-01
公开(公告)号
JP2011011057A
申请日
2010-06-07
公开(公告)日
2011-01-20
当前申请(专利权)人
マイクロライン サージカル インコーポレーテッド
发明人
ジャンリュック ブルノワ | デヴィッド ストローム | チャールズ ファウスト | ジェームズ バーニッツ | ピーター アリスキー
简单同族
CA2706143A1 | CA2706143C | EP2258297A1 | EP3545892A1 | JP2011011057A | JP5301502B2 | US20100312240A1 | US8852183
简单同族成员数量
8
简单同族被引用专利总数
21
诉讼案件数
0
法律状态/事件
授权
抱歉,您的浏览器不支持PDF预览,请点击链接下载PDF文件