专利数据库
统计分析
产业报告
专利数据监控
产业人才
行业动态
产业政策法规
维权援助
个人中心
详情
文本
图像
标题
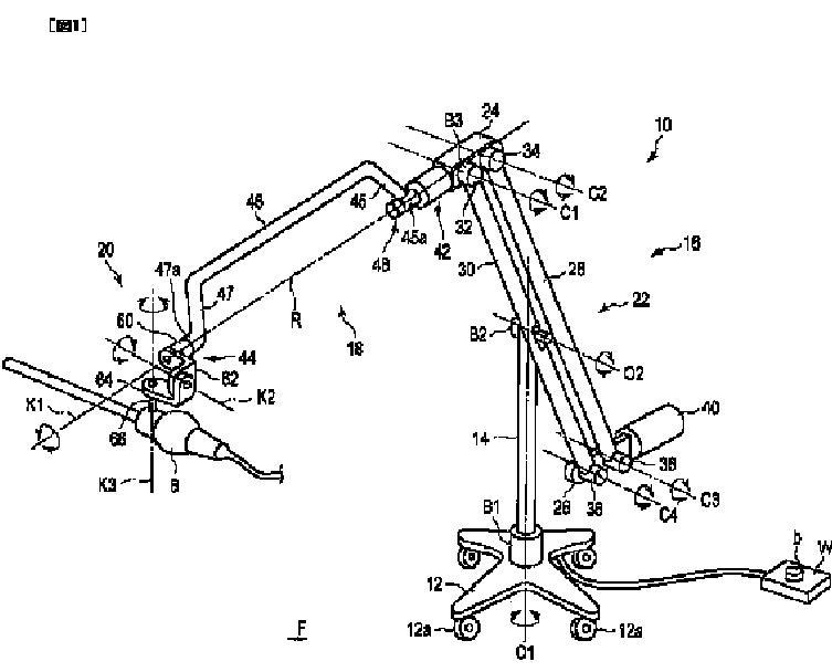
医療用保持装置
授权日
1900-01-01
公开(公告)号
JPWO2012117922A1
申请日
2012-02-23
公开(公告)日
2014-07-07
当前申请(专利权)人
オリンパスメディカルシステムズ株式会社
发明人
廣瀬 憲志
简单同族
JP5265818B2 | JPWO2012117922A1 | US20130140412A1 | US8910913 | WO2012117922A1
简单同族成员数量
5
简单同族被引用专利总数
26
诉讼案件数
0
法律状态/事件
授权 | 权利转移
抱歉,您的浏览器不支持PDF预览,请点击链接下载PDF文件