专利数据库
统计分析
产业报告
专利数据监控
产业人才
行业动态
产业政策法规
维权援助
个人中心
详情
文本
图像
标题
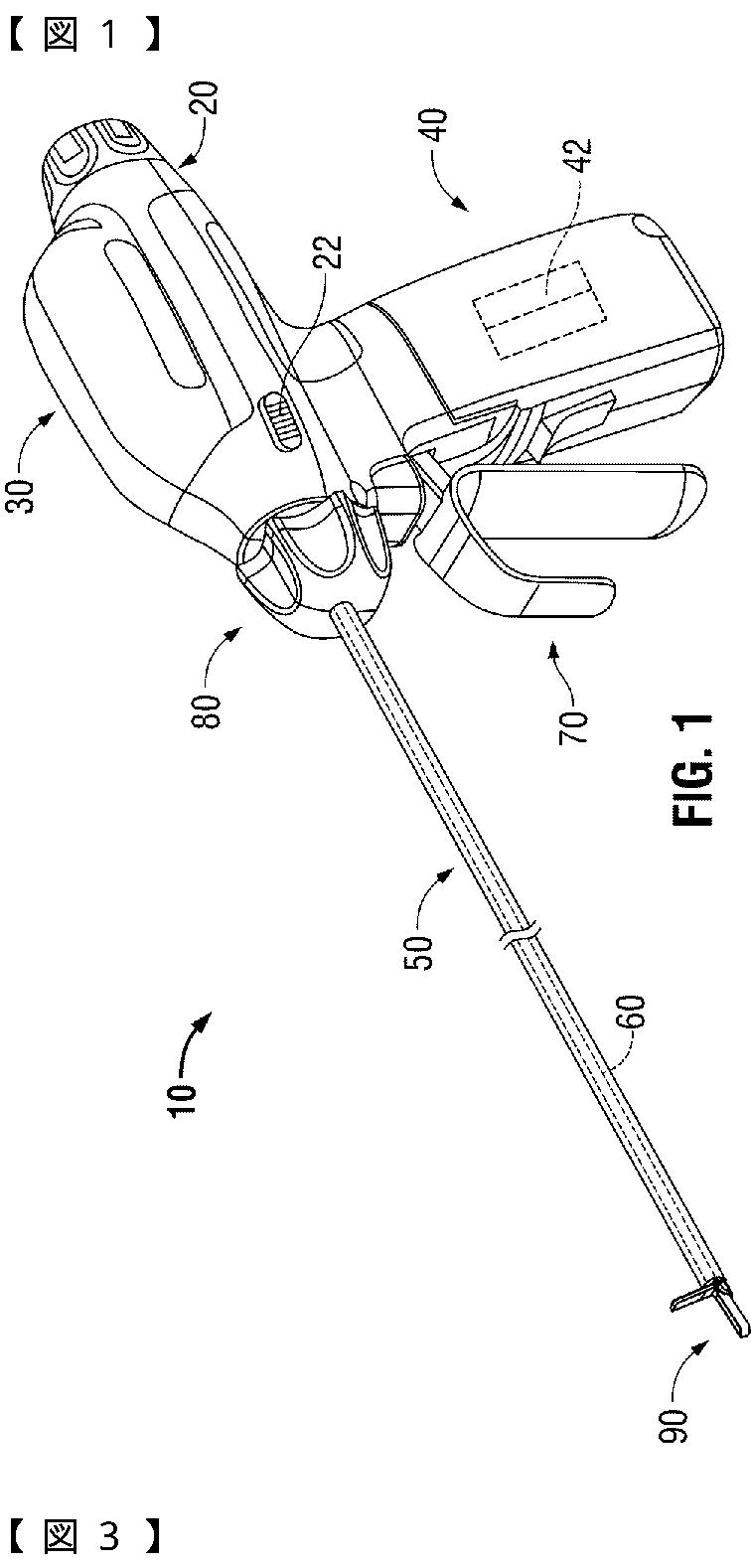
関節運動されるジョーを有している医療用超音波器具
授权日
1900-01-01
公开(公告)号
JP2012239901A
申请日
2012-05-16
公开(公告)日
2012-12-10
当前申请(专利权)人
コヴィディエン リミテッド パートナーシップ
发明人
アンドレイ バラニョフ | ジョージー マルツィノフスキー | イゴリス ミスチェンコ | アレクセイ ルイン | ウラディミル ヴァシニョフ
简单同族
AU2012202874A1 | AU2012202874B2 | CA2776755A1 | CA2776755C | EP2524660A1 | EP2524660B1 | JP2012239901A | JP2012239901A5 | JP5404849B2 | US20120296356A1 | US20130231664A1 | US8444664 | US8894674
简单同族成员数量
13
简单同族被引用专利总数
198
诉讼案件数
0
法律状态/事件
未缴年费
抱歉,您的浏览器不支持PDF预览,请点击链接下载PDF文件