专利数据库
统计分析
产业报告
专利数据监控
产业人才
行业动态
产业政策法规
维权援助
个人中心
详情
文本
图像
标题
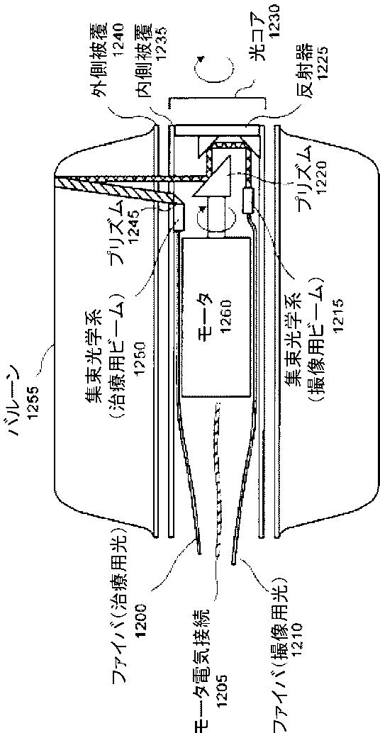
少なくとも一つのファイバの少なくとも二つの部位の少なくとも一つを制御する装置
授权日
1900-01-01
公开(公告)号
JP2012098743A
申请日
2011-12-16
公开(公告)日
2012-05-24
当前申请(专利权)人
ザ ジェネラル ホスピタル コーポレイション
发明人
ティーニー ギレルモ ジェイ. | シシコフ ミレン | ボウマ ブレット イー. | ヴァコック ベンジャミン ジェイ.
简单同族
EP1986562A2 | EP1986562B1 | JP2009537024A | JP2009537024A5 | JP2012098743A | JP2015171556A | JP5778569B2 | US20070274650A1 | US7418169 | WO2007149601A2 | WO2007149601A3
简单同族成员数量
11
简单同族被引用专利总数
123
诉讼案件数
0
法律状态/事件
未缴年费
抱歉,您的浏览器不支持PDF预览,请点击链接下载PDF文件