专利数据库
统计分析
产业报告
专利数据监控
产业人才
行业动态
产业政策法规
维权援助
个人中心
详情
文本
图像
标题
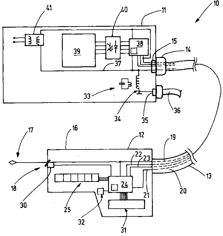
デジタルデータインタフェースを有する外科手術用器具
授权日
1900-01-01
公开(公告)号
JP2012187408A
申请日
2012-03-12
公开(公告)日
2012-10-04
当前申请(专利权)人
エルベ エレクトロメディジン ゲーエムベーハー
发明人
トーマス バウアー | マルク ケグライス | ペーター ゼーリグ
简单同族
CN102727302A | CN102727302B | EP2497427A1 | EP2497427B1 | JP2012187408A | JP5481509B2 | PL2497427T3 | US20120232540A1 | US9131953
简单同族成员数量
9
简单同族被引用专利总数
46
诉讼案件数
0
法律状态/事件
授权
抱歉,您的浏览器不支持PDF预览,请点击链接下载PDF文件