专利数据库
统计分析
产业报告
专利数据监控
产业人才
行业动态
产业政策法规
维权援助
个人中心
详情
文本
图像
标题
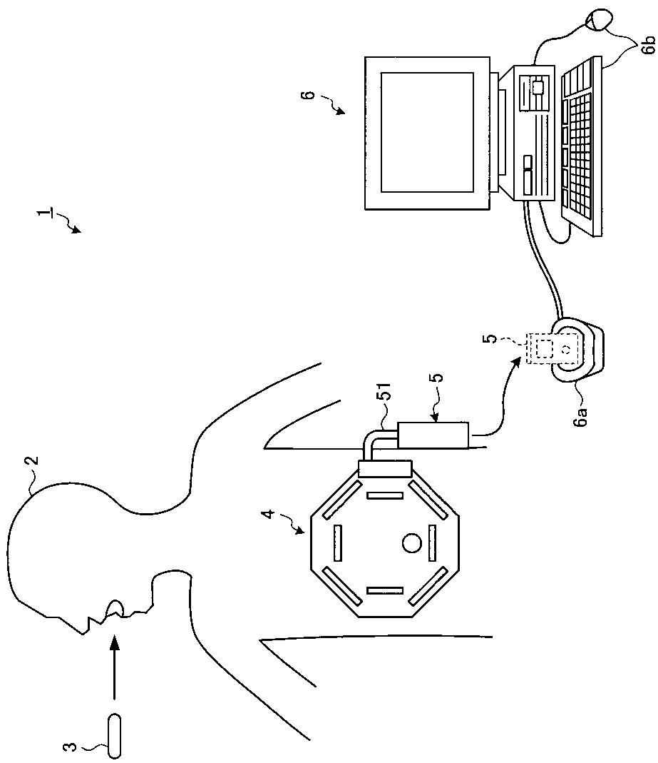
アンテナ装置、アンテナ、アンテナホルダーおよび被検体内導入システム
授权日
2013-02-08
公开(公告)号
JP5193402B2
申请日
2012-05-29
公开(公告)日
2013-05-08
当前申请(专利权)人
オリンパスメディカルシステムズ株式会社
发明人
田中 慎介
简单同族
CN103228197A | CN103228197B | EP2617346A1 | EP2617346A4 | EP2617346B1 | JP5193402B2 | JPWO2012165426A1 | US20130178702A1 | US8821380 | WO2012165426A1
简单同族成员数量
10
简单同族被引用专利总数
30
诉讼案件数
0
法律状态/事件
授权 | 权利转移
抱歉,您的浏览器不支持PDF预览,请点击链接下载PDF文件