专利数据库
统计分析
产业报告
专利数据监控
产业人才
行业动态
产业政策法规
维权援助
个人中心
详情
文本
图像
标题
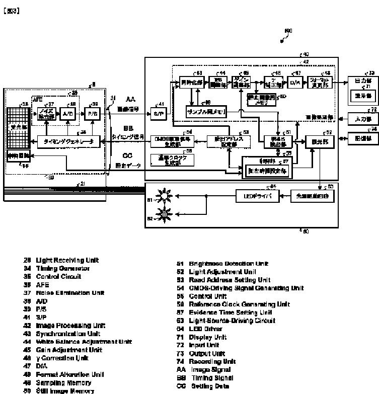
撮像装置
授权日
1900-01-01
公开(公告)号
JPWO2012043771A1
申请日
2011-09-29
公开(公告)日
2014-02-24
当前申请(专利权)人
オリンパスメディカルシステムズ株式会社
发明人
大野 渉 | 橋本 秀範
简单同族
CN103124515A | CN103124515B | EP2604176A1 | EP2604176A4 | JP5259882B2 | JPWO2012043771A1 | US20130169843A1 | US8643710 | WO2012043771A1
简单同族成员数量
9
简单同族被引用专利总数
85
诉讼案件数
0
法律状态/事件
授权 | 权利转移
抱歉,您的浏览器不支持PDF预览,请点击链接下载PDF文件