专利数据库
统计分析
产业报告
专利数据监控
产业人才
行业动态
产业政策法规
维权援助
个人中心
详情
文本
图像
标题
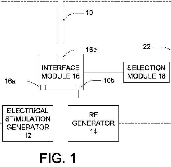
神経モニタリングおよび電気外科に用いるインターフェースモジュール
授权日
1900-01-01
公开(公告)号
JP2013525002A
申请日
2011-04-18
公开(公告)日
2013-06-20
当前申请(专利权)人
メドトロニック ゾームド,インコーポレイテッド
发明人
マクファーリン、ケビン·エル. | ブルース、ジョン·シー. | ハッカー、デイビッド·シー. | タッカー、ロバート·エー.
简单同族
AU2011245597A1 | AU2011245597B2 | CA2797484A1 | CA2797484C | CN102985004A | CN102985004B | EP2563214A1 | EP2563214B1 | JP2013525002A | JP2015061619A | JP6018158B2 | KR101505054B1 | KR101728727B1 | KR1020130028112A | KR1020140124385A | US10631912 | US20110270120A1 | US20170312006A1 | WO2011136962A1
简单同族成员数量
19
简单同族被引用专利总数
67
诉讼案件数
0
法律状态/事件
驳回
抱歉,您的浏览器不支持PDF预览,请点击链接下载PDF文件