专利数据库
统计分析
产业报告
专利数据监控
产业人才
行业动态
产业政策法规
维权援助
个人中心
详情
文本
图像
标题
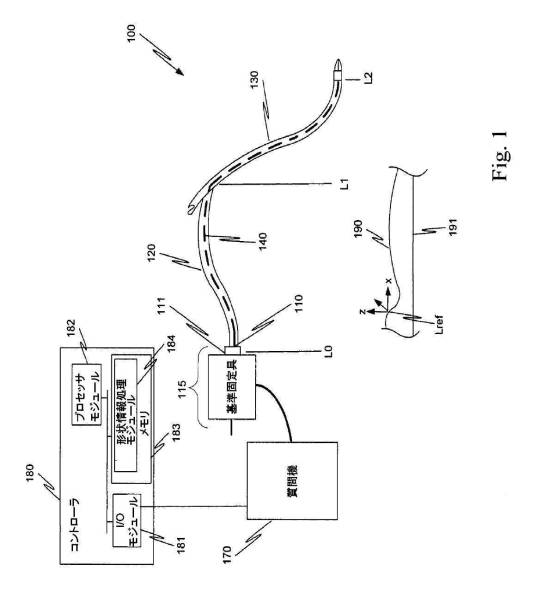
捻転に対する感度の低い形状センサを用いた絶対的3次元測定のための方法およびシステム
授权日
1900-01-01
公开(公告)号
JP2020028753A
申请日
2019-11-27
公开(公告)日
2020-02-27
当前申请(专利权)人
インテュイティブ サージカル オペレーションズ, インコーポレイテッド
发明人
ジュゼッペ マリア プリスコ | セオドア ダブリュー. ロジャース | ビンセント デュインダム | ミリアム ジェイ. キューレット | キャサリン ジェイ. モーア | キャサリン ディー. ストイ
简单同族
CN102753114A | CN102753114B | CN105496557A | CN105496557B | EP2533717A1 | EP2533717B1 | EP3339799A1 | JP2013519432A | JP2015205216A | JP2015205216A5 | JP2017148643A | JP2018118138A | JP2020028753A | JP5826770B2 | JP6336661B2 | JP6457352B2 | KR101789542B1 | KR101868081B1 | KR1020120125575A | KR1020170118979A | KR1020180069090A | KR1020190018566A | KR102055636B1 | US10028791 | US10588703 | US10687907 | US20110202069A1 | US20160151121A1 | US20160157944A1 | US20170071683A1 | US9285246 | WO2011100124A1
简单同族成员数量
32
简单同族被引用专利总数
95
诉讼案件数
0
法律状态/事件
公开
抱歉,您的浏览器不支持PDF预览,请点击链接下载PDF文件