专利数据库
统计分析
产业报告
专利数据监控
产业人才
行业动态
产业政策法规
维权援助
个人中心
详情
文本
图像
标题
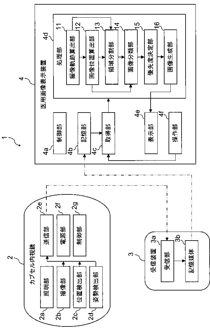
医用画像表示装置
授权日
1900-01-01
公开(公告)号
JP2013085593A
申请日
2011-10-14
公开(公告)日
2013-05-13
当前申请(专利权)人
株式会社東芝 | 東芝メディカルシステムズ株式会社
发明人
佐藤 恭子
简单同族
JP2013085593A | JP5846841B2
简单同族成员数量
2
简单同族被引用专利总数
21
诉讼案件数
0
法律状态/事件
授权 | 权利转移
抱歉,您的浏览器不支持PDF预览,请点击链接下载PDF文件