专利数据库
统计分析
产业报告
专利数据监控
产业人才
行业动态
产业政策法规
维权援助
个人中心
详情
文本
图像
标题
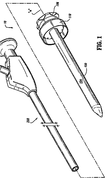
観察機器保持アセンブリを備える光学トロカール
授权日
1900-01-01
公开(公告)号
JP2011245324A
申请日
2011-07-21
公开(公告)日
2011-12-08
当前申请(专利权)人
タイコ ヘルスケア グループ リミテッド パートナーシップ
发明人
ロバート シー. スミス
简单同族
AU2006201374A1 | AU2006201374B2 | CA2542225A1 | CA2542225C | EP1712196A2 | EP1712196A3 | EP1712196B1 | EP2319435A2 | EP2319435A3 | EP2319435B1 | JP2006289083A | JP2011245324A | JP4968818B2 | US10159402 | US20060226655A1 | US20110004061A1 | US20130317298A1 | US7824327 | US8517918
简单同族成员数量
19
简单同族被引用专利总数
59
诉讼案件数
0
法律状态/事件
撤回
抱歉,您的浏览器不支持PDF预览,请点击链接下载PDF文件