专利数据库
统计分析
产业报告
专利数据监控
产业人才
行业动态
产业政策法规
维权援助
个人中心
详情
文本
图像
标题
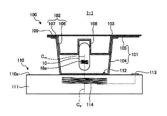
起動装置
授权日
1900-01-01
公开(公告)号
JPWO2014125908A1
申请日
2014-01-24
公开(公告)日
2017-02-02
当前申请(专利权)人
オリンパスメディカルシステムズ株式会社
发明人
千葉 淳 | 瀬川 英建
简单同族
CN104883952A | EP2957210A1 | JP5687810B2 | JPWO2014125908A1 | US20150057497A1 | WO2014125908A1
简单同族成员数量
6
简单同族被引用专利总数
42
诉讼案件数
0
法律状态/事件
授权 | 权利转移
抱歉,您的浏览器不支持PDF预览,请点击链接下载PDF文件