专利数据库
统计分析
产业报告
专利数据监控
产业人才
行业动态
产业政策法规
维权援助
个人中心
详情
文本
图像
标题
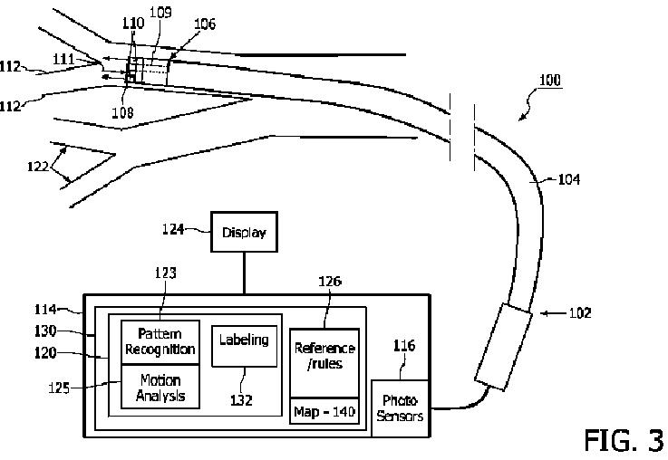
電磁式追跡及び術前のロードマップ走査のないリアルタイムでのスコープの追跡及び分枝のラベリング
授权日
1900-01-01
公开(公告)号
JP2012525898A
申请日
2010-04-02
公开(公告)日
2012-10-25
当前申请(专利权)人
コーニンクレッカ フィリップス エレクトロニクス エヌ ヴィ
发明人
リウ,シン | グティエレス,ルイス フェリペ
简单同族
CN102439631A | EP2427867A1 | JP2012525898A | US20120062714A1 | WO2010128411A1
简单同族成员数量
5
简单同族被引用专利总数
25
诉讼案件数
0
法律状态/事件
撤回
抱歉,您的浏览器不支持PDF预览,请点击链接下载PDF文件