专利数据库
统计分析
产业报告
专利数据监控
产业人才
行业动态
产业政策法规
维权援助
个人中心
详情
文本
图像
标题
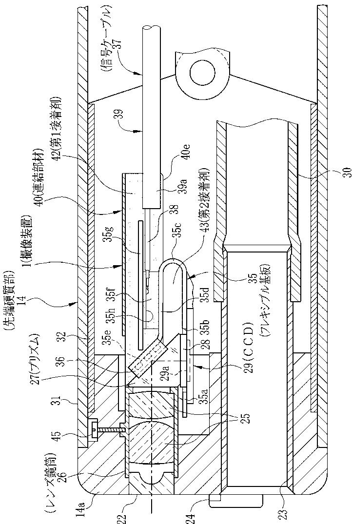
撮像装置及びこれを備えた電子内視鏡
授权日
1900-01-01
公开(公告)号
JP2012157472A
申请日
2011-01-31
公开(公告)日
2012-08-23
当前申请(专利权)人
富士フイルム株式会社
发明人
木村 壮一郎
简单同族
DE202011110734U1 | EP2481341A1 | EP2481341B1 | EP3009063A1 | JP2012157472A | JP5436470B2 | US20120197081A1
简单同族成员数量
7
简单同族被引用专利总数
62
诉讼案件数
0
法律状态/事件
授权
抱歉,您的浏览器不支持PDF预览,请点击链接下载PDF文件