专利数据库
统计分析
产业报告
专利数据监控
产业人才
行业动态
产业政策法规
维权援助
个人中心
详情
文本
图像
标题
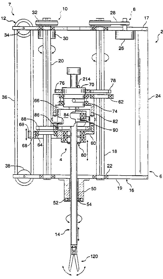
遠隔操縦ロボットシステム用の外科手術マニピュレーター
授权日
1900-01-01
公开(公告)号
JP2013099555A
申请日
2013-01-10
公开(公告)日
2013-05-23
当前申请(专利权)人
エスアールアイ インターナショナル
发明人
ジェンセン,ジョエル,エフ. | ヒル,ジョン,ダブリュー.
简单同族
AT301423T | AT394995T | AT469603T | AT533407T | CA2222150A1 | CA2222150C | CA2634141A1 | CA2634141C | CA2715090A1 | CA2715090C | CA2715194A1 | CA2715194C | CA2715198A1 | CA2715198C | CA2715441A1 | CA2715441C | CA2809745A1 | CA2809745C | DE69635050D1 | DE69635050T2 | DE69637531D1 | DE69638191D1 | EP0836425A1 | EP0836425A4 | EP0836425B1 | EP1570789A2 | EP1570789A3 | EP1570789B1 | EP1862123A2 | EP1862123A3 | EP1862123B1 | EP1862124A2 | EP1862124A3 | EP1862124B1 | EP1864614A2 | EP1864614A3 | EP1864614B1 | EP1864615A2 | EP1864615A3 | EP1864615B1 | EP2135561A2 | EP2135561A3 | EP2135561B1 | EP2266466A1 | EP2266466B1 | EP2266467A1 | EP2266467B1 | EP2281512A1 | EP2281512B1 | EP2286729A2 | EP2286729A3 | EP2286729B1 | ES2244971T3 | ES2443015T3 | JP1999507252A | JP1999507252A5 | JP2007054642A | JP2008289902A | JP2010269162A | JP2013078651A | JP2013099554A | JP2013099555A | JP2013099556A | JP2013121513A | JP2013126712A | JP2013135850A | JP2015037549A | JP4416840B2 | JP4444261B2 | JP4953321B2 | JP5276065B2 | JP5709027B2 | JP5852593B2 | JP5883401B2 | JP5886388B2 | JP5943480B2 | JP5943481B2 | WO1996039944A1
简单同族成员数量
78
简单同族被引用专利总数
190
诉讼案件数
0
法律状态/事件
期限届满
抱歉,您的浏览器不支持PDF预览,请点击链接下载PDF文件