专利数据库
统计分析
产业报告
专利数据监控
产业人才
行业动态
产业政策法规
维权援助
个人中心
详情
文本
图像
标题
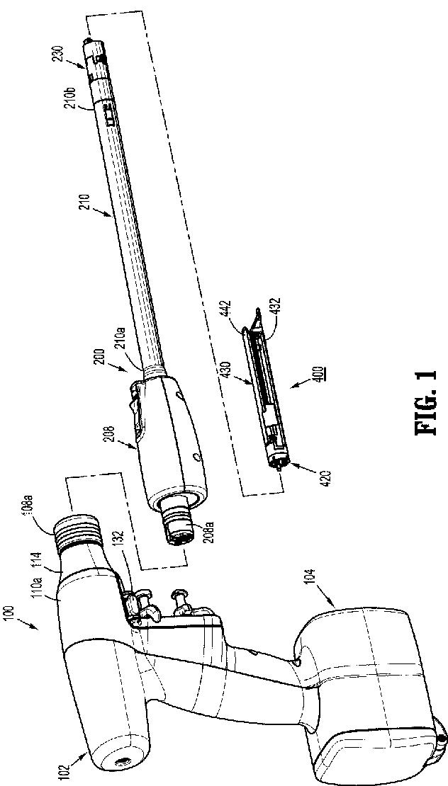
内視鏡処置のための装置
授权日
1900-01-01
公开(公告)号
JP2014155826A
申请日
2014-02-17
公开(公告)日
2014-08-28
当前申请(专利权)人
コヴィディエン リミテッド パートナーシップ
发明人
ジャスティン ウィリアムス | ポール シリカ
简单同族
AU2014200224A1 | CN103989495A | EP2767243A2 | EP2767243A3 | EP2767243B1 | EP3150131A2 | EP3150131A3 | ES2610979T3 | JP2014155826A | JP6297350B2 | US10299772 | US20140236174A1 | US20160354071A1 | US20190274669A1 | US9421003
简单同族成员数量
15
简单同族被引用专利总数
379
诉讼案件数
0
法律状态/事件
授权
抱歉,您的浏览器不支持PDF预览,请点击链接下载PDF文件