专利数据库
统计分析
产业报告
专利数据监控
产业人才
行业动态
产业政策法规
维权援助
个人中心
详情
文本
图像
标题
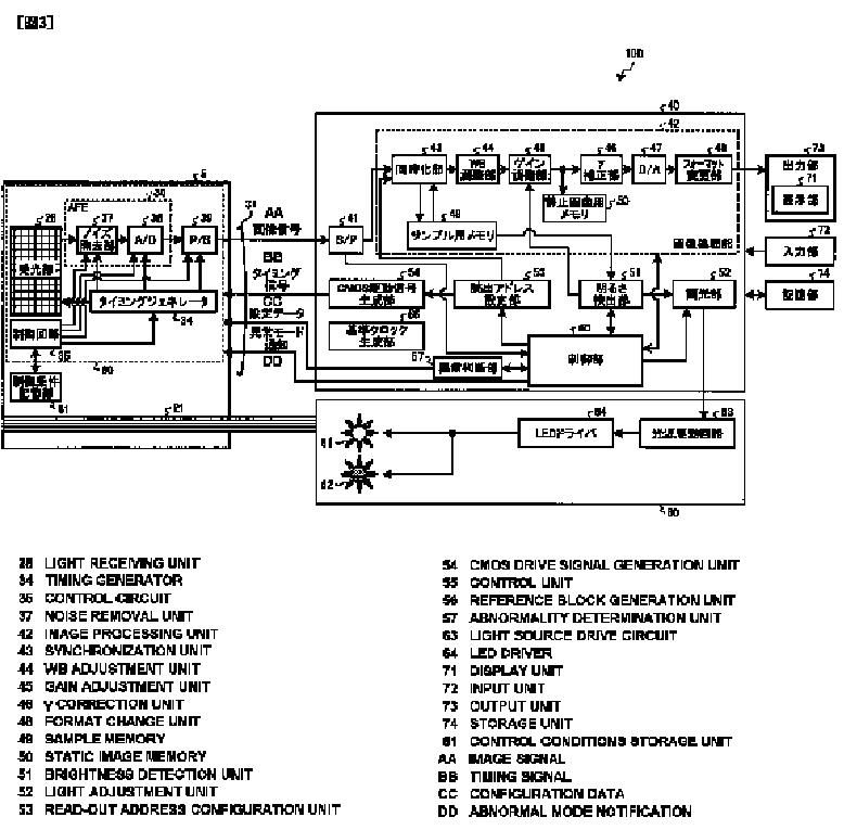
撮像装置
授权日
1900-01-01
公开(公告)号
JPWO2012081617A1
申请日
2011-12-14
公开(公告)日
2014-05-22
当前申请(专利权)人
オリンパスメディカルシステムズ株式会社
发明人
大野 渉 | 橋本 秀範 | 松澤 洋彦
简单同族
CN103250406A | CN103250406B | EP2618556A1 | EP2618556A4 | EP2618556B1 | JP2013090969A | JP5211269B2 | JP5372269B2 | JPWO2012081617A1 | US20130169775A1 | US8908022 | WO2012081617A1
简单同族成员数量
12
简单同族被引用专利总数
33
诉讼案件数
0
法律状态/事件
授权 | 权利转移
抱歉,您的浏览器不支持PDF预览,请点击链接下载PDF文件